Запчасти Komatsu PW100NS-3 ОСНОВНАЯ РАМА(№8-) СИСТЕМА УПРАВЛЕНИЯ И ОСНОВНАЯ РАМА

Схема запчастей Komatsu PW100NS-3 - ОСНОВНАЯ РАМА(№8-) СИСТЕМА УПРАВЛЕНИЯ И ОСНОВНАЯ РАМА
FIT
1:1
100%

Артикул

Название

Примечание

Количество

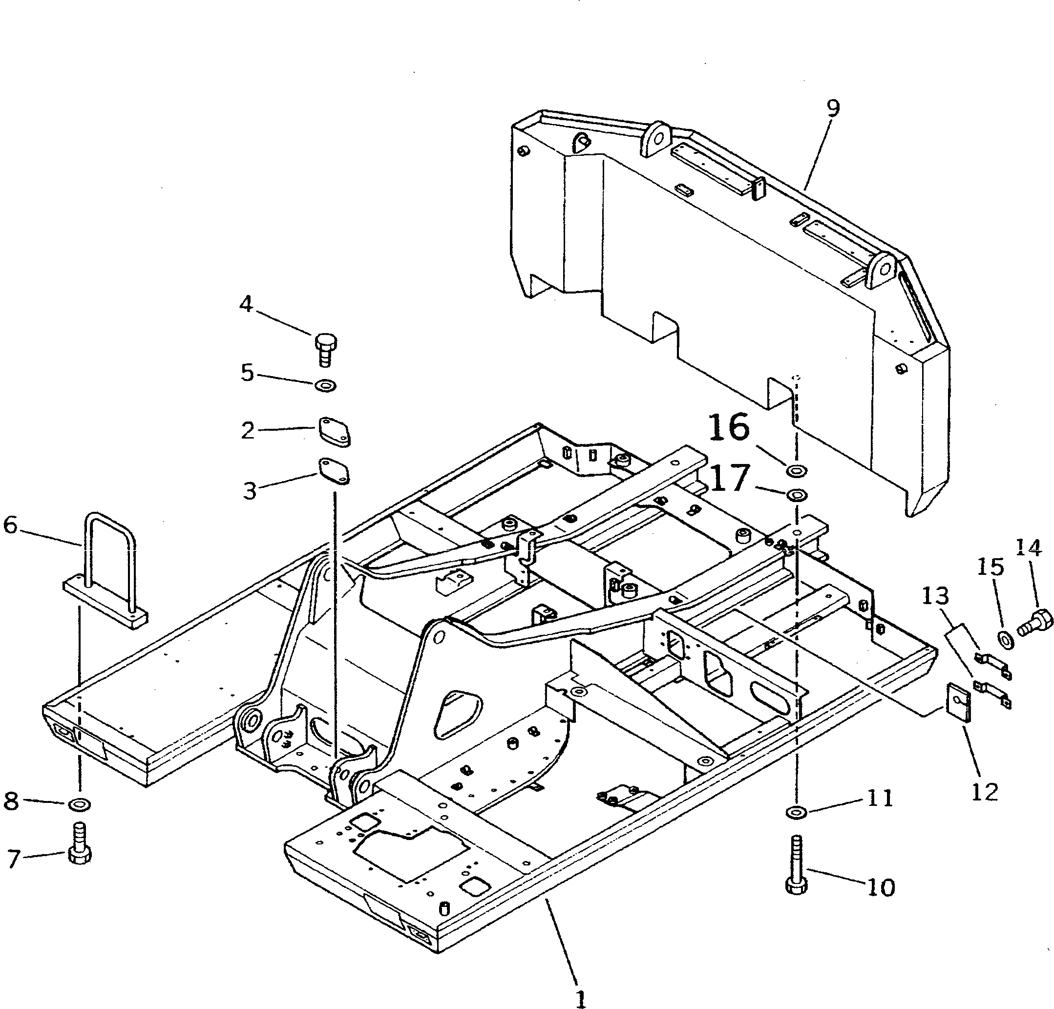
1

20D-974-1130

FRAME

|1

20D-46-41114

FRAME

|1

20D-46-41113

FRAME

|1

20D-46-41221

FRAME,(FOR STEERING AUTO SELECTOR)

|1

20D-40-41183

FRAME,(FOR TILT TYPE STEERING WHEEL)

|1

20D-40-41182

FRAME,(FOR TILT TYPE STEERING WHEEL)

|1

20D-40-41181

FRAME,(FOR TILT TYPE STEERING WHEEL)

2

203-46-31131

COVER

3

203-46-31181

GASKET

4

01010-51230

BOLT

5

01643-31232

WASHER

6

20D-46-41192

STAY

7

01010-51235

BOLT

8

01643-31232

WASHER

9

20D-46-41231

WEIGHT

|9

20D-46-41230

WEIGHT

10

203-46-31221

BOLT

|10

01011-83685

BOLT

11

01643-33690

WASHER

12

20D-46-41150

SHEET

13

20D-46-41160

CLAMP

14

01010-50820

BOLT

15

01643-30823

WASHER

16

203-46-41460

PLATE¤ 1.0MM

17

203-46-41480

PLATE¤ 2.3MM

Выбрано товаров: 0