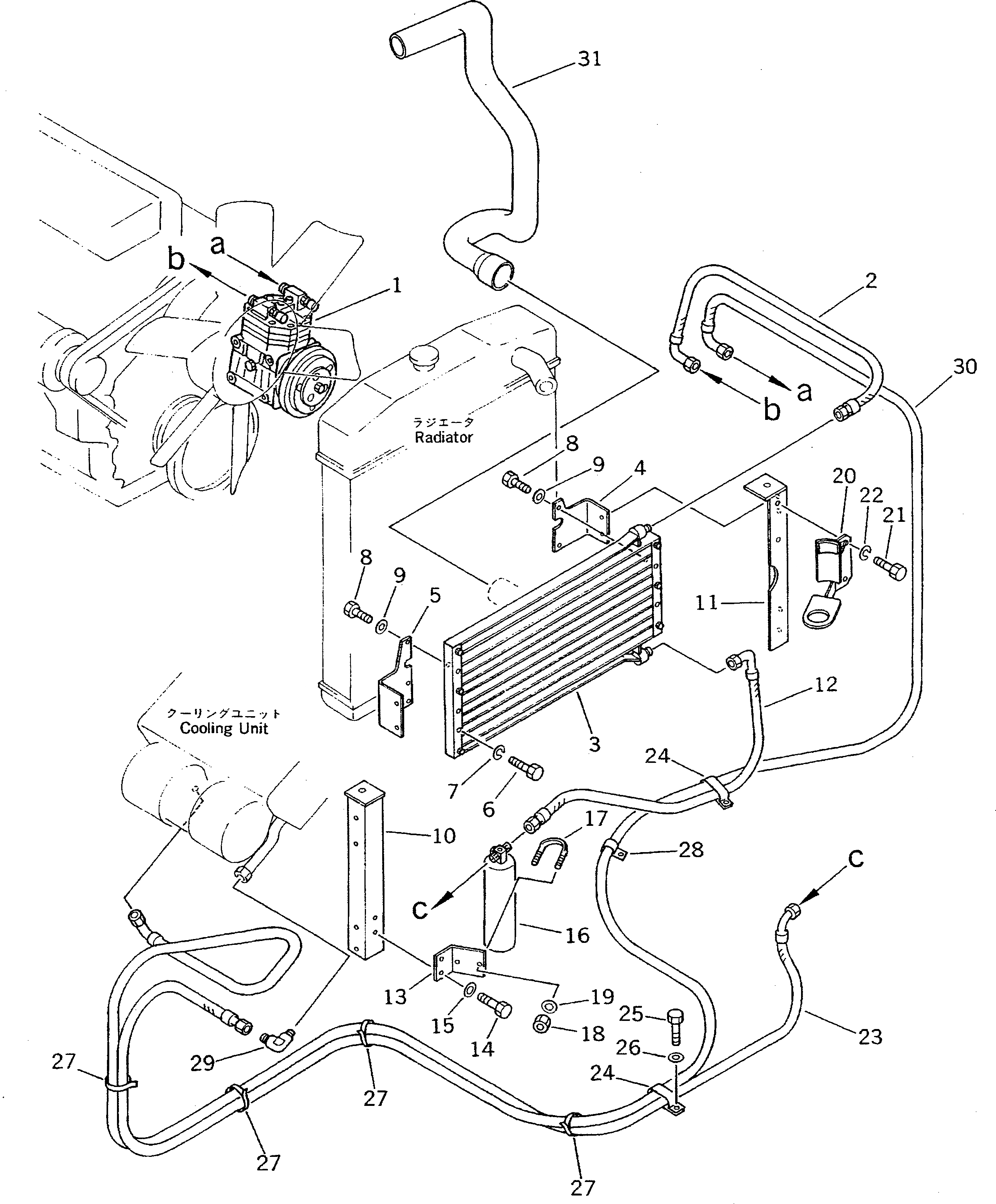
Запчасти Komatsu PW100NS-3 CAR СИСТЕМА ТРУБ ОХЛАЖДЕНИЯ (/)(№-8) ЧАСТИ КОРПУСА

Схема запчастей Komatsu PW100NS-3 - CAR СИСТЕМА ТРУБ ОХЛАЖДЕНИЯ (/)(№-8) ЧАСТИ КОРПУСА
FIT
1:1
100%

Артикул

Название

Примечание

Количество

1

205-981-5130

COMPRESSOR ASS'Y

2

09488-20609

HOSE

3

203-978-4340

CONDENSER ASS'Y

4

20D-978-4210

BRACKET

5

20D-978-4220

BRACKET

6

01010-50640

BOLT

7

01602-00619

WASHER,SPRING

8

01010-51025

BOLT

9

01643-31032

WASHER

10

20D-978-4230

BRACKET,(MODIFIED FROM 20D-03-41250)

11

20D-978-4240

BRACKET,(MODIFIED FROM 20D-978-4240)

12

09488-20507

HOSE

13

20D-978-4260

PLATE

14

01010-51025

BOLT

15

01643-31032

WASHER

16

566-07-11240

RECEIVER

17

07283-26155

CLIP

18

01599-01011

NUT

19

01643-31032

WASHER

20

20D-978-4250

BRACKET

21

01010-51025

BOLT

22

01602-21030

WASHER,SPRING

23

09488-20522

HOSE

24

176-911-4170

CLIP

25

01010-51020

BOLT

26

01643-31032

WASHER

27

08034-00519

BAND

28

08036-22514

CLIP

29

205-981-5250

ELBOW

30

09488-20635

HOSE

31

20D-978-4270

HOSE,(EXCHANGE FOR 20G-03-11163)

Выбрано товаров: 31