Качественные детали и логистика
Оригинальные и аналоговые запчасти с доставкой по России, Казахстану и Беларуси
©2022 PartSell ООО "Система" ИНН 2463123282 ОГРН 1212400004838
Центральный офис: г. Красноярск, Академика Киренского, д.87, пом.4
Телефон: 8 (800) 777-65-74 Email: zakaz@partsell.ru
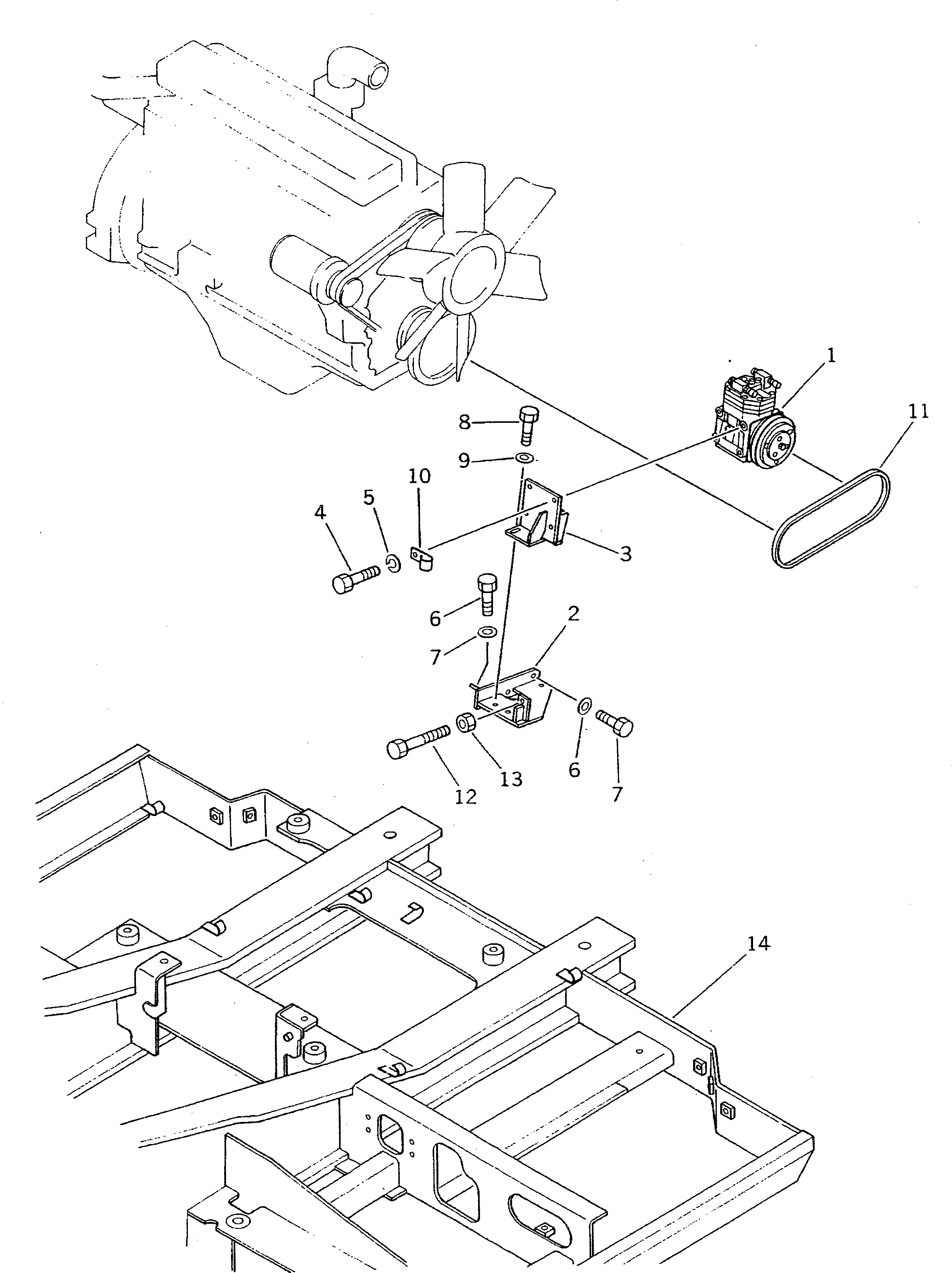
CAR ОХЛАДИТЕЛЬ КОМПОНЕНТЫ(№-8)
№
Артикул
Название
Примечание
Количество
1
205-981-5130
COMPRESSOR ASS'Y
2
20D-978-4280
BRACKET
3
20D-978-4290
4
01010-50825
BOLT
5
01602-20825
WASHER,SPRING
6
01010-51025
7
01643-31032
WASHER
8
9
10
08036-10614
CLIP
11
04120-21740
V-BELT
12
01016-51050
13
01580-11008
NUT
14
20D-978-4320
FRAME,(MODIFIED FROM 20D-46-41111)
Выбрано товаров: 0