Запчасти Komatsu PW100NS-3 LIGHT РАБОЧ. КОВШ РАБОЧЕЕ ОБОРУДОВАНИЕ

Схема запчастей Komatsu PW100NS-3 - LIGHT РАБОЧ. КОВШ РАБОЧЕЕ ОБОРУДОВАНИЕ
FIT
1:1
100%

Артикул

Название

Примечание

Количество

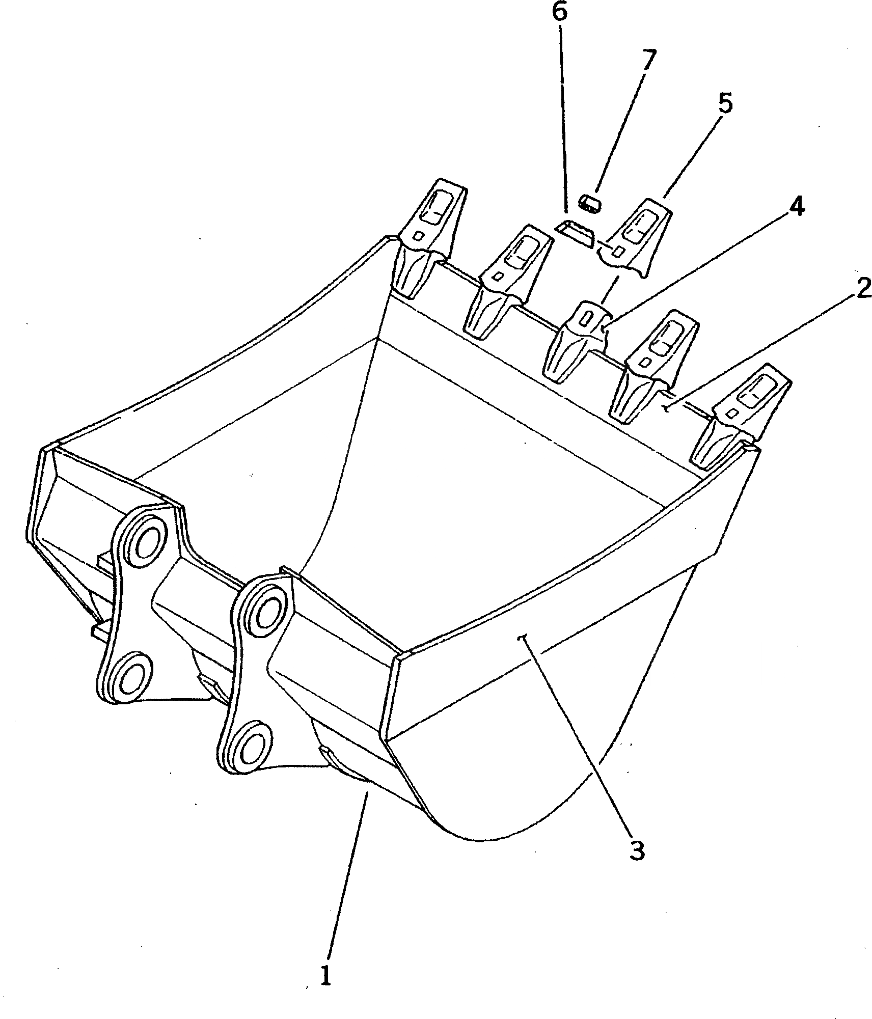
|1

202-920-0022

BUCKET ASS'Y

|1

202-920-0021

BUCKET ASS'Y

1

202-920-5112

BUCKET

|1

202-920-5111

BUCKET

2

202-920-5131

PLATE (WELDED)

|2

202-920-5130

PLATE (WELDED)

3

202-920-5140

PLATE,L.H. (WELDED)

|3

202-920-5122

PLATE,R.H. (WELDED)

|3

202-920-5121

PLATE (WELDED)

4

203-70-43191

ADAPTER (WELDED)

|4

203-70-43190

ADAPTER (WELDED)

5

203-70-43180

TOOTH

6

203-70-43212

PIN

|6

203-70-43211

PIN

7

203-70-43220

PIN

Выбрано товаров: 15