Запчасти Komatsu PW100NS-3 TRAPEZOIDAL КОВШ РАБОЧЕЕ ОБОРУДОВАНИЕ

Схема запчастей Komatsu PW100NS-3 - TRAPEZOIDAL КОВШ РАБОЧЕЕ ОБОРУДОВАНИЕ
FIT
1:1
100%

Артикул

Название

Примечание

Количество

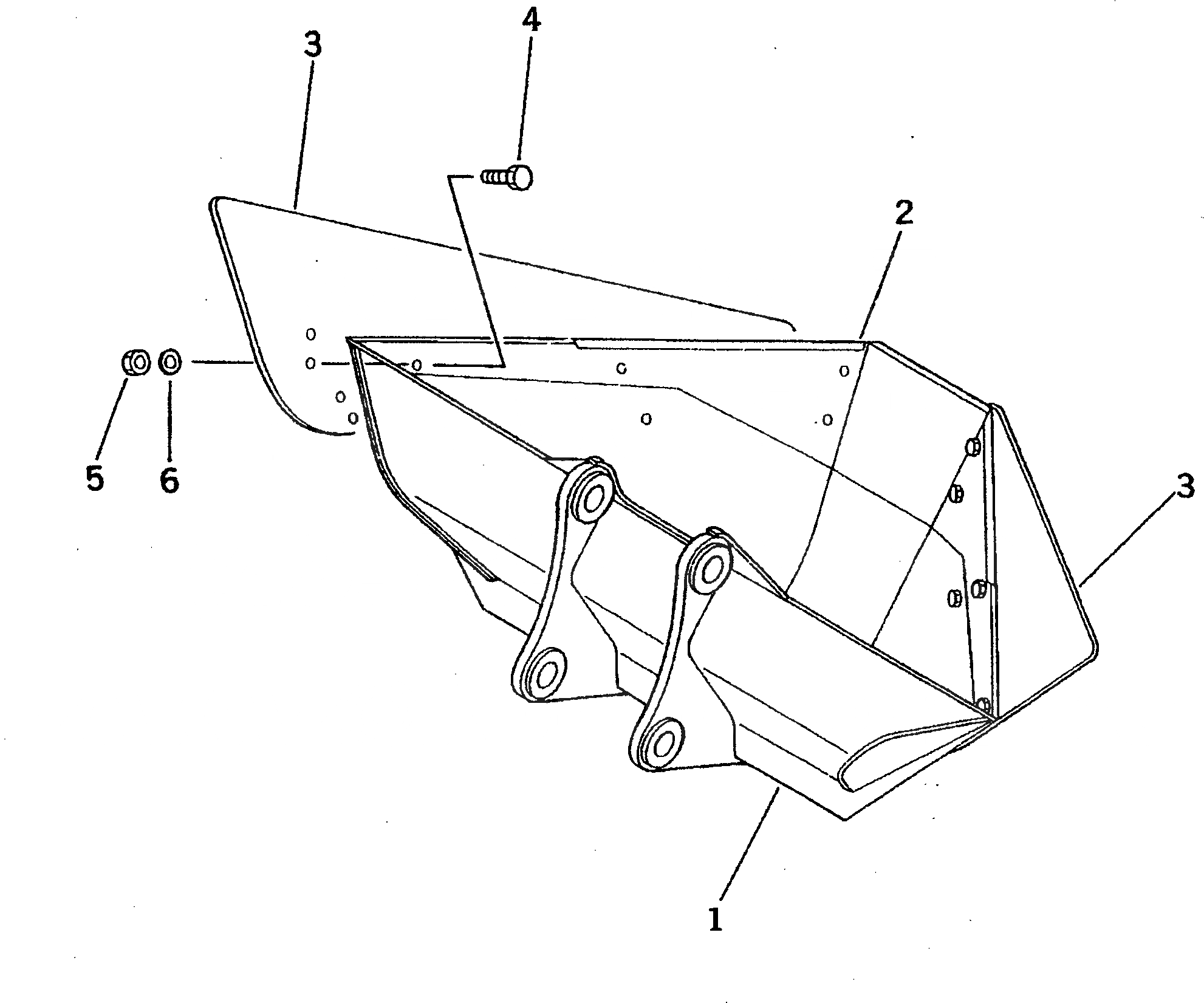
|1

202-929-0021

BUCKET ASS'Y

1

202-929-5111

BUCKET,TRAPEZOIDAL

2

202-929-1121

LIP (WELDED)

3

202-929-1150

PLATE,SIDE

4

01010-52055

BOLT

5

01580-12016

NUT

6

01643-32060

WASHER

Выбрано товаров: 7