Запчасти Komatsu PW100NS-3 ЦИЛИНДР ОТВАЛА РАБОЧЕЕ ОБОРУДОВАНИЕ

Схема запчастей Komatsu PW100NS-3 - ЦИЛИНДР ОТВАЛА РАБОЧЕЕ ОБОРУДОВАНИЕ
FIT
1:1
100%

Артикул

Название

Примечание

Количество

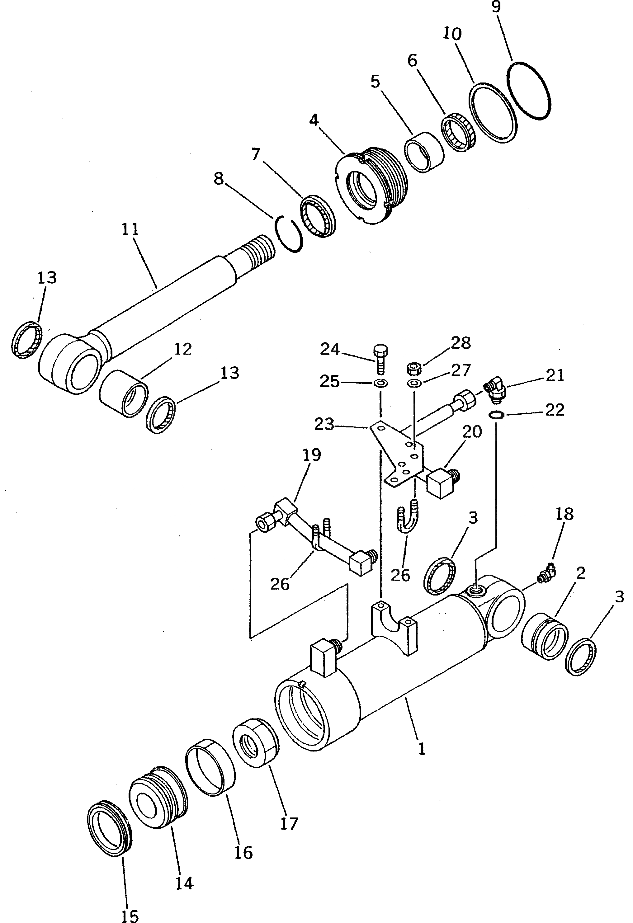
|1

20D-63-96500

CYLINDER ASS'Y,L.H.

|1

20D-63-96600

CYLINDER ASS'Y,R.H.

|1

20D-63-96510

CYLINDER SUB ASS'Y

1

20D-63-96540

CYLINDER

2

07144-10506

BUSHING

3

07145-00055

SEAL,DUST

4

707-29-10391

HEAD,CYLINDER

5

07177-06030

BUSHING

6

707-51-60211

PACKING,ROD

7

141-63-93270

SEAL,DUST

8

07179-00082

RING,SNAP

9

07000-12105

O-RING

10

101-63-81230

RING,BACK-UP

11

20D-63-96520

ROD

12

07143-10506

BUSHING

13

07145-00055

SEAL,DUST

14

707-36-10280

PISTON

15

707-44-10080

RING,PISTON

16

07155-01025

RING,WEAR

17

07165-14547

NUT

18

07020-00900

FITTING,GREASE

19

20D-63-96570

TUBE,L.H.

|19

20D-63-96670

TUBE,R.H.

20

20D-63-96580

TUBE

21

07235-10522

ELBOW

22

07002-12434

O-RING

23

707-88-97270

PLATE

24

01010-51025

BOLT

25

01643-31032

WASHER

26

07283-22236

CLIP

27

01643-31032

WASHER

28

01599-01011

NUT

Выбрано товаров: 32