Запчасти Komatsu PW100NS-3 ШАССИ (/) (С ПЕРЕДН. И ЗАДН. КРЫЛО)(№-) ШАССИ¤ ТРАНСМИССИЯ¤ МОСТ¤ КОЛЕСА И ВОЗД. СИСТЕМА

Схема запчастей Komatsu PW100NS-3 - ШАССИ (/) (С ПЕРЕДН. И ЗАДН. КРЫЛО)(№-) ШАССИ¤ ТРАНСМИССИЯ¤ МОСТ¤ КОЛЕСА И ВОЗД. СИСТЕМА
FIT
1:1
100%

Артикул

Название

Примечание

Количество

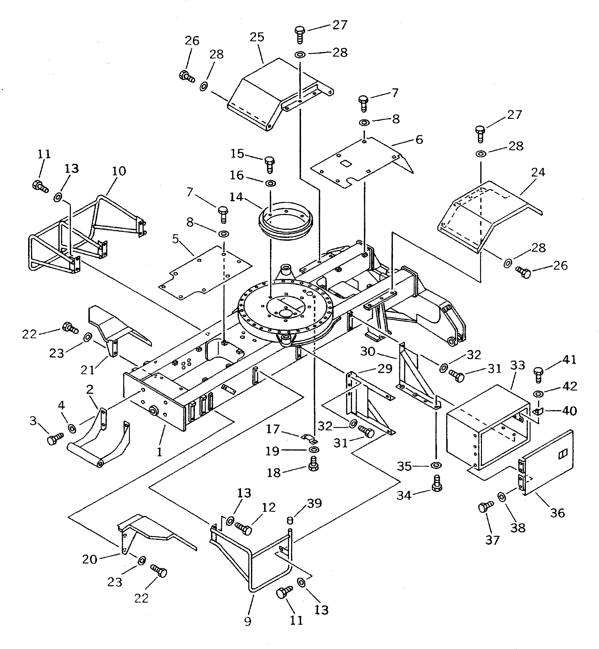
1

20D-47-41212

FRAME

2

20D-47-42190

BRACKET

3

01010-52045

BOLT

4

01643-32060

WASHER

5

20D-47-41240

COVER

6

20D-47-41251

COVER

7

01010-51025

BOLT

8

01643-31032

WASHER

9

20D-47-42150

STEP,L.H.

10

20D-47-42160

STEP,R.H.

11

01010-51230

BOLT

12

01010-51225

BOLT

13

01643-31232

WASHER

14

203-30-41144

COVER

|14

203-30-41152

SEAL

15

01010-51225

BOLT

16

01643-31232

WASHER

17

20D-47-41170

PLATE

18

01010-51220

BOLT

19

01643-31232

WASHER

20

20D-47-42210

FENDER,L.H.

21

20D-47-42120

FENDER,R.H.

22

01010-51230

BOLT

23

01643-31232

WASHER

24

20D-47-42130

FENDER,L.H.

25

20D-47-42140

FENDER,R.H.

26

01010-51225

BOLT

27

01010-51230

BOLT

28

01643-31232

WASHER

29

20D-47-42170

BRACKET

30

20D-47-42180

BRACKET

31

01010-51230

BOLT

32

01643-31232

WASHER

33

20D-47-41810

BOX

34

01010-51225

BOLT

35

01643-31232

WASHER

36

20D-47-41820

COVER

37

01010-51020

BOLT

38

01643-31032

WASHER

39

20D-47-41910

CUSHION

40

203-54-52620

PLATE

41

01010-51020

BOLT

42

01643-31032

WASHER

Выбрано товаров: 43