Запчасти Komatsu PW100NS-3 РАДИАТОР И МАСЛООХЛАДИТЕЛЬ(№8-) КОМПОНЕНТЫ ДВИГАТЕЛЯ И ЭЛЕКТРИКА

Схема запчастей Komatsu PW100NS-3 - РАДИАТОР И МАСЛООХЛАДИТЕЛЬ(№8-) КОМПОНЕНТЫ ДВИГАТЕЛЯ И ЭЛЕКТРИКА
FIT
1:1
100%

Артикул

Название

Примечание

Количество

|1

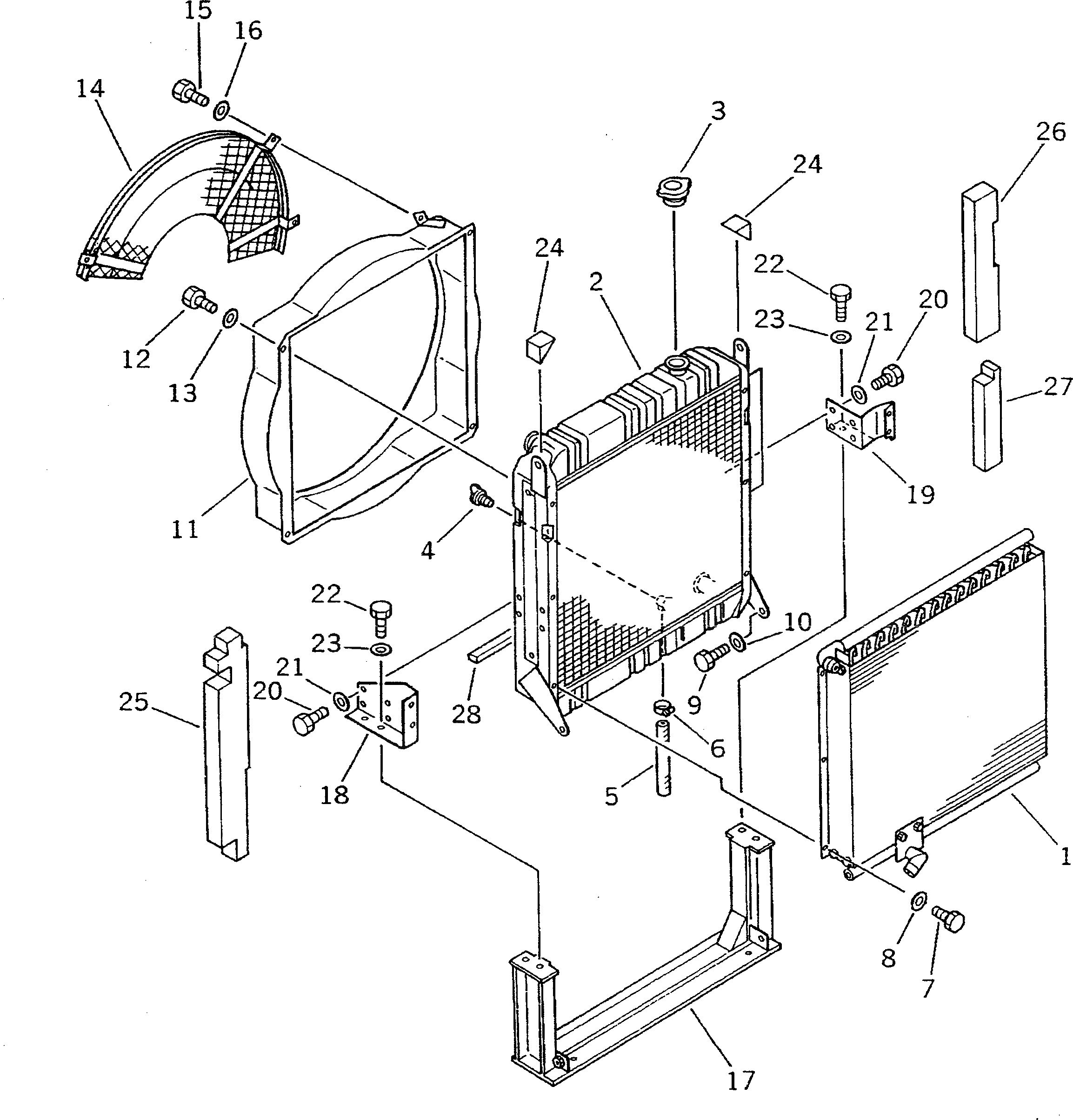
20D-03-41101

RADIATOR ASS'Y

1

20D-03-41410

OIL COOLER ASS'Y

2

20D-03-41420

RADIATOR CORE ASS'Y

3

203-03-41280

CAP

4

205-03-62660

PLUG

|4

07000-01007

O-RING

5

203-03-41410

HOSE

6

07280-01010

CLAMP

7

01010-50816

BOLT

8

01643-30823

WASHER

9

01010-51025

BOLT

10

01643-31032

WASHER

11

20D-03-41471

SHROUD

12

01010-50816

BOLT

13

01643-30823

WASHER

14

20G-03-11131

NET

15

01010-51025

BOLT

16

01643-31032

WASHER

17

20D-03-41550

BRACKET

18

21K-03-21541

BRACKET

19

21K-03-21520

BRACKET

20

01010-50820

BOLT

21

01643-30823

WASHER

22

01010-51025

BOLT

23

01643-31032

WASHER

24

203-03-41480

SHEET

25

20D-03-41510

CUSHION

26

20D-03-41530

CUSHION

27

20D-03-41540

CUSHION

28

203-03-41510

SHEET

Выбрано товаров: 30