Запчасти Komatsu PW100NS-3 РЫЧАГ УПРАВЛ-Я ПОДАЧЕЙ ТОПЛИВА(№8-) СИСТЕМА УПРАВЛЕНИЯ И ОСНОВНАЯ РАМА

Схема запчастей Komatsu PW100NS-3 - РЫЧАГ УПРАВЛ-Я ПОДАЧЕЙ ТОПЛИВА(№8-) СИСТЕМА УПРАВЛЕНИЯ И ОСНОВНАЯ РАМА
FIT
1:1
100%

Артикул

Название

Примечание

Количество

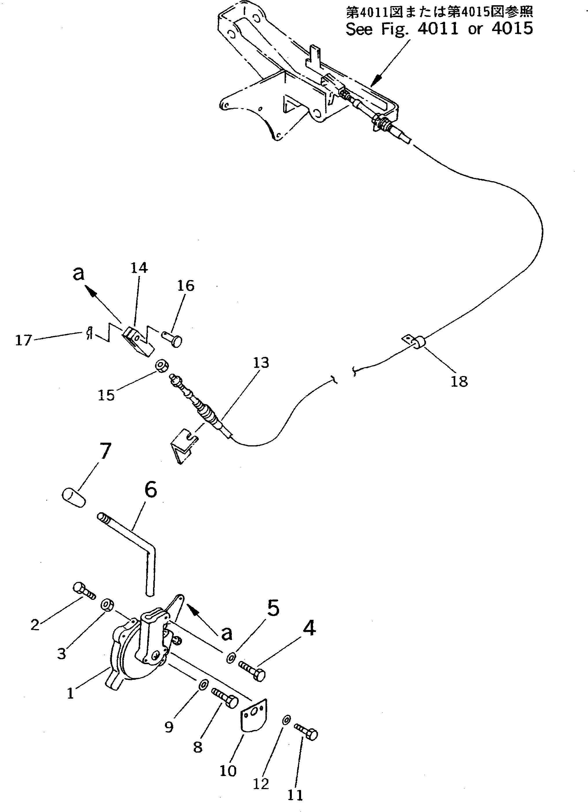
1

203-43-44331

CLUTCH ASS'Y

|1

203-43-44330

CLUTCH ASS'Y

2

01010-50640

BOLT

3

01580-10605

NUT

4

01010-50820

BOLT

5

01643-30823

WASHER

6

20D-43-42160

LEVER

7

203-43-44360

KNOB

8

01252-31025

BOLT

9

01643-51032

WASHER

10

20D-43-42171

CAM

11

01010-50620

BOLT

12

01643-30623

WASHER

13

20X-43-22210

CABLE

14

04211-20634

YOKE

15

01580-10605

NUT

16

04205-10618

PIN

17

04050-11612

PIN,COTTER

18

08036-01814

CLIP

Выбрано товаров: 19