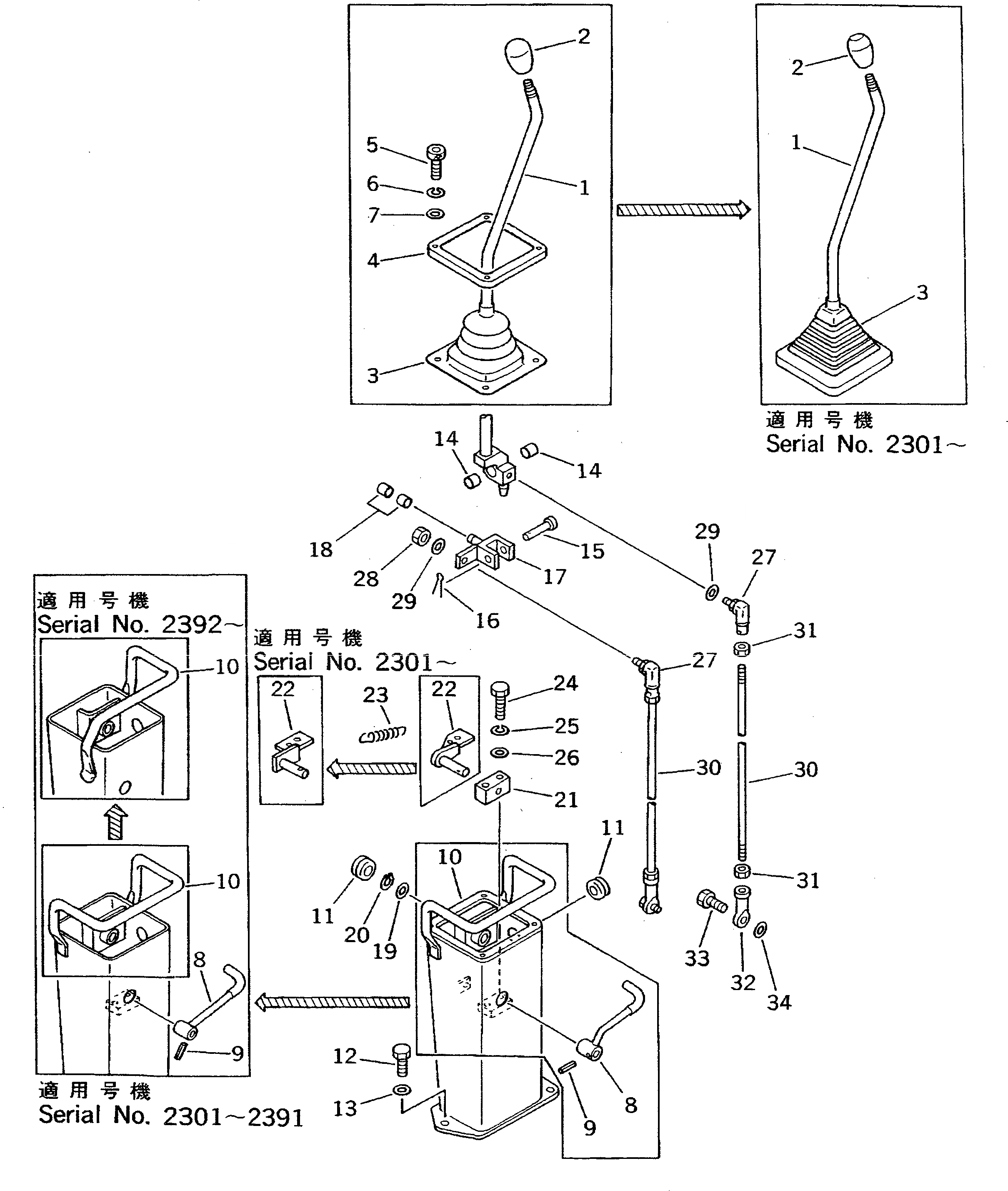
Запчасти Komatsu PW100NS-3 РЫЧАГ УПРАВЛЕНИЯ РАБОЧИМ ОБОРУДОВАНИЕМ¤ ЛЕВ. СИСТЕМА УПРАВЛЕНИЯ И ОСНОВНАЯ РАМА

Схема запчастей Komatsu PW100NS-3 - РЫЧАГ УПРАВЛЕНИЯ РАБОЧИМ ОБОРУДОВАНИЕМ¤ ЛЕВ. СИСТЕМА УПРАВЛЕНИЯ И ОСНОВНАЯ РАМА
FIT
1:1
100%

Артикул

Название

Примечание

Количество

1

20D-43-41111

LEVER,L.H.

|1

20D-43-41110

LEVER,L.H.

2

203-43-41910

KNOB

|2

20D-43-11370

KNOB

3

20X-43-21730

BOOT

|3

203-43-42782

BELLOWS

4

205-43-62260

COVER

5

205-06-62170

BOLT

6

205-06-62180

WASHER,SPRING

7

205-06-62190

WASHER

8

203-43-43590

LEVER,L.H.

|8

205-43-63820

LEVER,L.H.

9

04025-00520

PIN,SPRING

10

20X-43-21711

STAND,L.H.

|10

20X-43-21710

STAND,L.H.

|10

203-43-42791

STAND,L.H.

11

09415-02512

CAP

12

01010-51230

BOLT

13

01643-31232

WASHER

14

203-43-31420

BUSHING

15

04205-01450

PIN

16

04050-14022

PIN,COTTER

17

205-43-52140

YOKE

18

203-43-31420

BUSHING

19

01641-21423

WASHER

20

04064-01410

RING,SNAP

21

205-43-62330

BLOCK

22

203-43-43610

LEVER

|22

205-43-62320

LEVER

23

203-43-21370

SPRING

24

01010-50840

BOLT

25

01602-20825

WASHER,SPRING

26

01643-30823

WASHER

27

207-43-11170

JOINT

28

01582-11008

NUT

29

01643-31032

WASHER

30

04245-41031

ROD

31

01582-11008

NUT

32

04250-41056

END,ROD

33

01010-51030

BOLT

34

01643-31032

WASHER

|34

04254-01032

SPACER

Выбрано товаров: 42