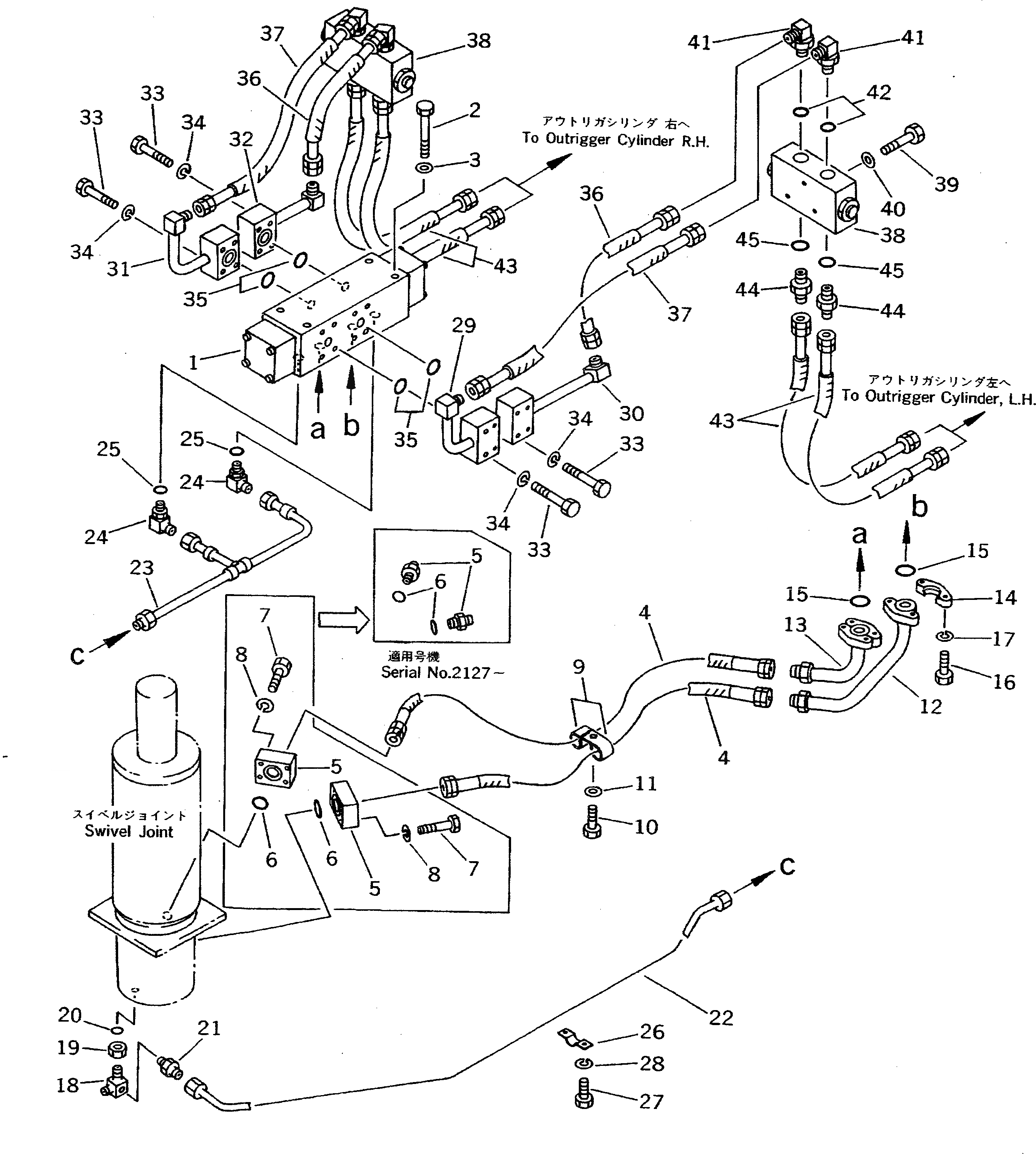
Запчасти Komatsu PW100S-3 ОПОРА ГИДРОЛИНИЯ (НИЖН.) (ЛЕВ.¤ ПРАВ. INDEPENDENTMOVEMENT)(№-) ШАССИ¤ ТРАНСМИССИЯ¤ МОСТ¤ КОЛЕСА И ВОЗД. СИСТЕМА

Схема запчастей Komatsu PW100S-3 - ОПОРА ГИДРОЛИНИЯ (НИЖН.) (ЛЕВ.¤ ПРАВ. INDEPENDENT    MOVEMENT)(№-) ШАССИ¤ ТРАНСМИССИЯ¤ МОСТ¤ КОЛЕСА И ВОЗД. СИСТЕМА
FIT
1:1
100%

Артикул

Название

Примечание

Количество

1

20G-60-12120

VALVE ASS'Y

2

01011-51000

BOLT

3

01643-31032

WASHER

4

07096-00310

HOSE

5

07230-10315

UNION

|5

20E-62-15310

FLANGE

6

07002-12034

O-RING

|6

07000-13022

O-RING

7

01010-50835

BOLT

8

01602-20825

WASHER,SPRING

9

08036-02514

CLIP

10

01010-51225

BOLT

11

01643-31232

WASHER

12

20D-62-44630

TUBE

13

20D-62-44640

TUBE

14

07371-30500

FLANGE,SPLIT

15

07000-13022

O-RING

16

01010-50830

BOLT

17

01602-20825

WASHER,SPRING

18

20D-62-44340

ELBOW

19

07239-12009

NUT

20

07002-12034

O-RING

21

07238-00210

CONNECTOR

22

20E-62-15280

TUBE

23

20G-911-2210

TUBE

24

07235-10210

ELBOW

25

07002-11423

O-RING

26

07282-01048

CLAMP

27

01010-50612

BOLT

28

01602-20619

WASHER,SPRING

29

20E-62-15160

TUBE

30

20E-62-15170

TUBE

31

20E-62-15180

TUBE

32

20E-62-15190

TUBE

33

01010-50850

BOLT

34

01602-20825

WASHER,SPRING

35

07000-13025

O-RING

36

07096-00303

HOSE

37

07096-00305

HOSE

38

20S-60-12120

CHECK VALVE ASS'Y

|38

20G-60-12310

CHECK VALVE ASS'Y

|38

20D-60-11900

CHECK VALVE ASS'Y

39

01010-50865

BOLT

|39

01010-50875

BOLT

40

01643-30823

WASHER

41

114-62-23210

ELBOW

42

07002-12434

O-RING

43

07096-00306

HOSE

44

114-62-23110

NIPPLE

45

07002-12434

O-RING

Выбрано товаров: 50