Запчасти Komatsu PW100S-3 АККУМУЛЯТОР КОМПОНЕНТЫ ДВИГАТЕЛЯ И ЭЛЕКТРИКА

Схема запчастей Komatsu PW100S-3 - АККУМУЛЯТОР КОМПОНЕНТЫ ДВИГАТЕЛЯ И ЭЛЕКТРИКА
FIT
1:1
100%

Артикул

Название

Примечание

Количество

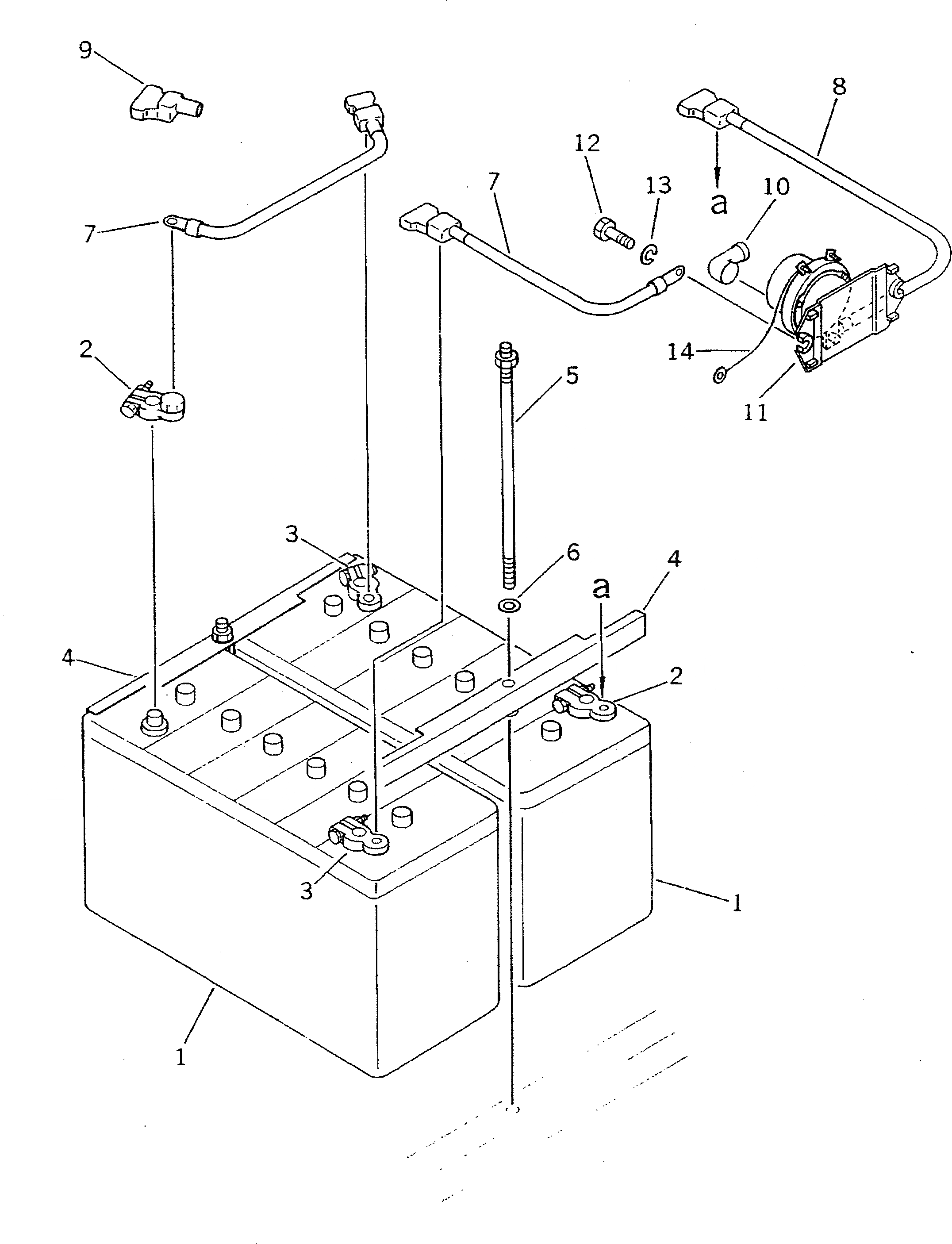
1

08000-32212

BATTERY (115E41R),(NS120)

2

08000-00000

TERMINAL¤ (+)

3

08000-00001

TERMINAL¤ (-)

4

203-06-41651

CLAMP

5

20D-06-41230

BOLT

6

01643-31232

WASHER

7

08028-12035

CABLE

8

08028-12045

CABLE

9

08038-22009

CAP,TERMINAL

10

08038-04030

CAP

11

22W-06-13220

SWITCH,BATTERY RELAY

12

01010-50830

BOLT

13

01602-20825

WASHER,SPRING

14

20G-06-14440

WIRE

Выбрано товаров: 14