Запчасти Komatsu PW100S-3 ПАНЕЛЬ ПРИБОРОВ (/)(№-) КОМПОНЕНТЫ ДВИГАТЕЛЯ И ЭЛЕКТРИКА

Схема запчастей Komatsu PW100S-3 - ПАНЕЛЬ ПРИБОРОВ (/)(№-) КОМПОНЕНТЫ ДВИГАТЕЛЯ И ЭЛЕКТРИКА
FIT
1:1
100%

Артикул

Название

Примечание

Количество

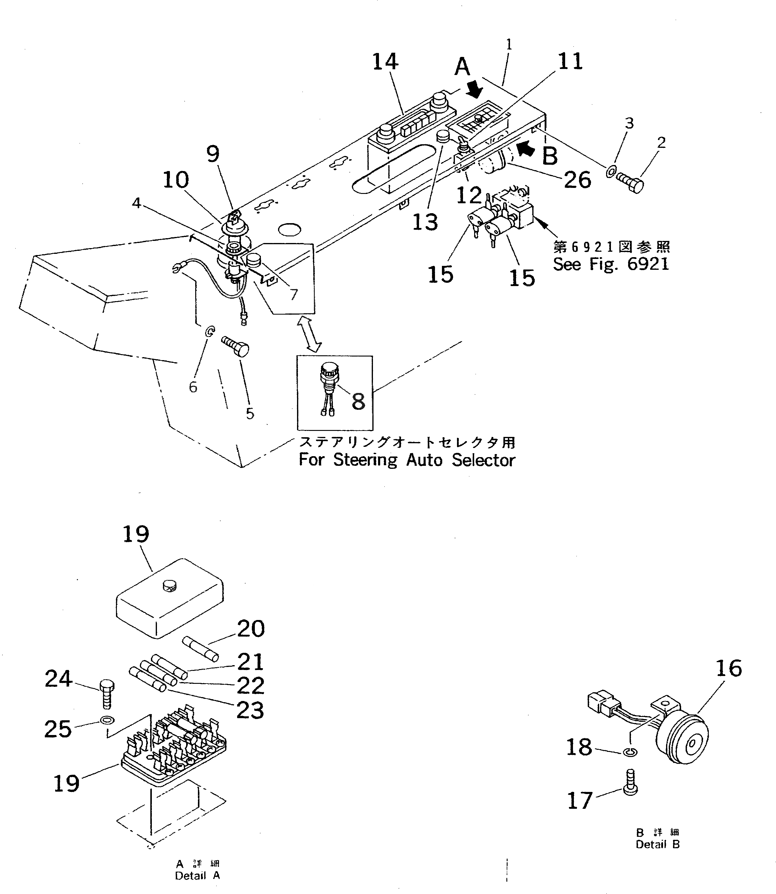
1

20D-06-41151

PANEL,INSTRUMENT

|1

20D-06-41150

PANEL,INSTRUMENT

2

01010-50816

BOLT

3

01643-30823

WASHER

4

600-815-3730

SIGNAL,HEATER

5

01010-50610

BOLT

6

01602-20619

WASHER,SPRING

7

09415-01610

CAP

8

08147-42402

LAMP ASS'Y,(FOR STEERING AUTO SELECTOR)

|8

08111-22430

BULB¤ 3W,(FOR STEERING AUTO SELECTOR)

9

08086-20000

SWITCH,STARTING

10

205-26-91140

SPACER

11

203-06-41610

CAP

12

203-06-41860

SWITCH,AUTO DECELERATION

13

09415-00706

CAP

14

20G-06-15112

RADIO

|14

20G-06-15110

RADIO

15

20G-68-11310

SWITCH,LOW PRESSURE

16

175-06-51210

BUZZER

17

01220-40612

SCREW

18

01602-20619

WASHER,SPRING

19

203-06-41540

BOX,FUSE

20

08040-01000

FUSE¤ 10A

21

08040-02000

FUSE¤ 20A

22

08040-04000

FUSE¤ 40A

23

08040-03000

FUSE¤ 30A

24

01010-50816

BOLT

25

01643-30823

WASHER

26

08034-00519

BAND

Выбрано товаров: 29