Качественные детали и логистика
Оригинальные и аналоговые запчасти с доставкой по России, Казахстану и Беларуси
©2022 PartSell ООО "Система" ИНН 2463123282 ОГРН 1212400004838
Центральный офис: г. Красноярск, Академика Киренского, д.87, пом.4
Телефон: 8 (800) 777-65-74 Email: zakaz@partsell.ru
ПАНЕЛЬ ПРИБОРОВ (/)(№-)
№
Артикул
Название
Примечание
Количество
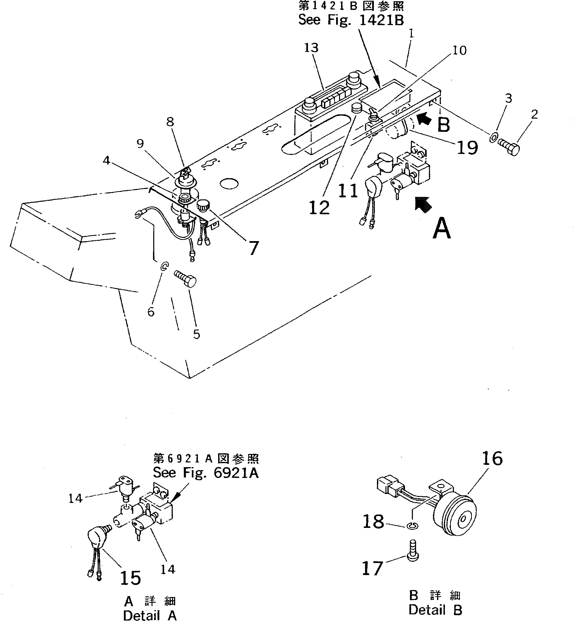
1
20D-06-41152
PANEL,INSTRUMENT
2
01010-50816
BOLT
3
01643-30823
WASHER
4
600-815-3730
SIGNAL,HEATER
5
01010-50610
6
01602-20619
WASHER,SPRING
7
08147-42402
LAMP ASS'Y,(FOR STEERING AUTO SELECTOR)
|7
08111-22430
BULB¤ 3W,(FOR STEERING AUTO SELECTOR)
8
08086-20000
SWITCH,STARTING
9
205-26-91140
SPACER
10
203-06-41610
CAP
11
203-06-41860
SWITCH,AUTO DECELERATION
12
09415-00706
13
20G-06-15112
RADIO
14
20G-68-11310
SWITCH,LOW PRESSURE
15
421-06-11570
16
175-06-51210
BUZZER
17
01220-40612
SCREW
18
19
08034-00519
BAND
Выбрано товаров: 0