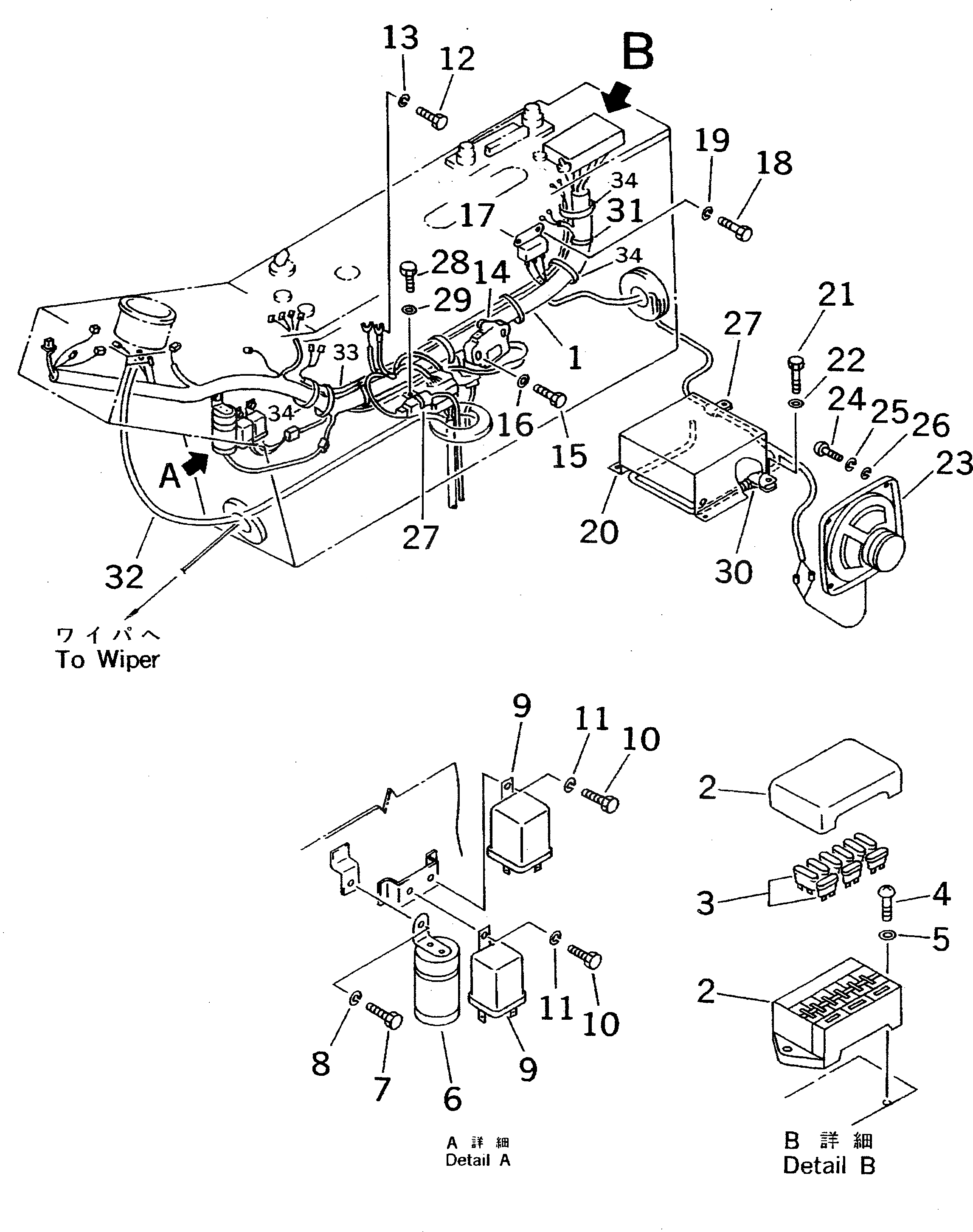
Запчасти Komatsu PW100S-3 ПАНЕЛЬ ПРИБОРОВ (/)(№-) КОМПОНЕНТЫ ДВИГАТЕЛЯ И ЭЛЕКТРИКА

Схема запчастей Komatsu PW100S-3 - ПАНЕЛЬ ПРИБОРОВ (/)(№-) КОМПОНЕНТЫ ДВИГАТЕЛЯ И ЭЛЕКТРИКА
FIT
1:1
100%

Артикул

Название

Примечание

Количество

1

20D-06-41314

WIRE ASS'Y

|1

22W-06-13590

DIODE

2

205-06-71480

FUSE BOX

3

205-06-73180

FUSE¤ 15A

4

01220-40616

SCREW

5

01643-30623

WASHER

6

08077-22400

FLASHER,TURN SIGNAL

7

01010-50812

BOLT

8

01602-20825

WASHER,SPRING

9

22W-06-13450

RELAY ASS'Y

10

01010-50612

BOLT

11

01602-20619

WASHER,SPRING

12

01010-50610

BOLT

13

01602-20619

WASHER,SPRING

14

22W-06-15861

SWITCH,MODE

15

01010-51035

BOLT

16

01643-31032

WASHER

17

08163-02400

RELAY,HORN

18

01010-50612

BOLT

19

01602-20619

WASHER,SPRING

20

20D-06-41481

CONTROLLER

|20

20D-06-41480

CONTROLLER

21

01010-50816

BOLT

22

01643-30823

WASHER

23

203-06-51111

SPEAKER

24

01220-40408

SCREW

25

01601-20410

WASHER,SPRING

26

01641-20405

WASHER

27

08036-01814

CLIP

28

01010-51016

BOLT

29

01643-31032

WASHER

30

08036-03014

CLIP

31

08034-00414

BAND

32

08604-45028

CABLE

33

20D-06-41340

WIRE,(FOR STEERING AUTO SELECTOR)

34

08034-00414

BAND,(FOR STEERING AUTO SELECTOR)

Выбрано товаров: 36