Запчасти Komatsu PW100S-3 МОТОР ХОДА (/) (ВСАСЫВ. КЛАПАН) УПРАВЛ-Е РАБОЧИМ ОБОРУДОВАНИЕМ

Схема запчастей Komatsu PW100S-3 - МОТОР ХОДА (/) (ВСАСЫВ. КЛАПАН) УПРАВЛ-Е РАБОЧИМ ОБОРУДОВАНИЕМ
FIT
1:1
100%

Артикул

Название

Примечание

Количество

|1

706-86-01010

TRAVEL MOTOR ASS'Y

|1

706-86-00304

TRAVEL MOTOR ASS'Y

|1

706-86-00302

TRAVEL MOTOR ASS'Y

|1

706-76-79100

VALVE ASS'Y

|1

706-76-00020

BLOCK SUB ASS'Y

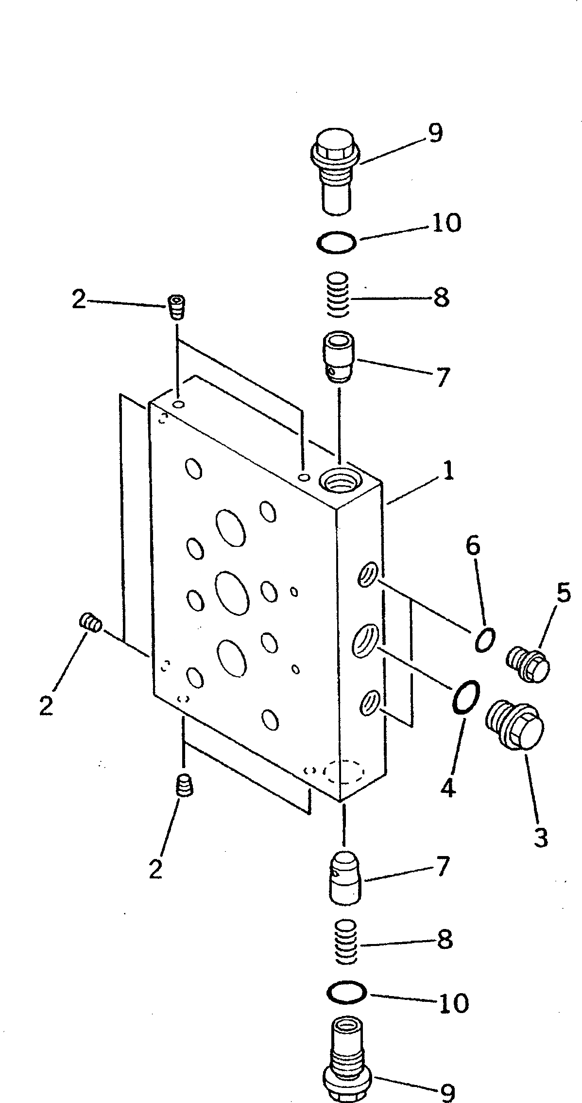
1

BLOCK

2

PLUG

3

706-77-72280

PLUG

4

07002-02034

O-RING

5

706-73-71450

PLUG

6

07002-11423

O-RING

7

706-75-71320

VALVE

8

700-42-31210

SPRING

9

706-76-79130

PLUG

10

07002-12034

O-RING

Выбрано товаров: 15