Запчасти Komatsu PW100S-3 ПОВОРОТН. КРУГ ПОВОРОТН. СИСТЕМА

Схема запчастей Komatsu PW100S-3 - ПОВОРОТН. КРУГ ПОВОРОТН. СИСТЕМА
FIT
1:1
100%

Артикул

Название

Примечание

Количество

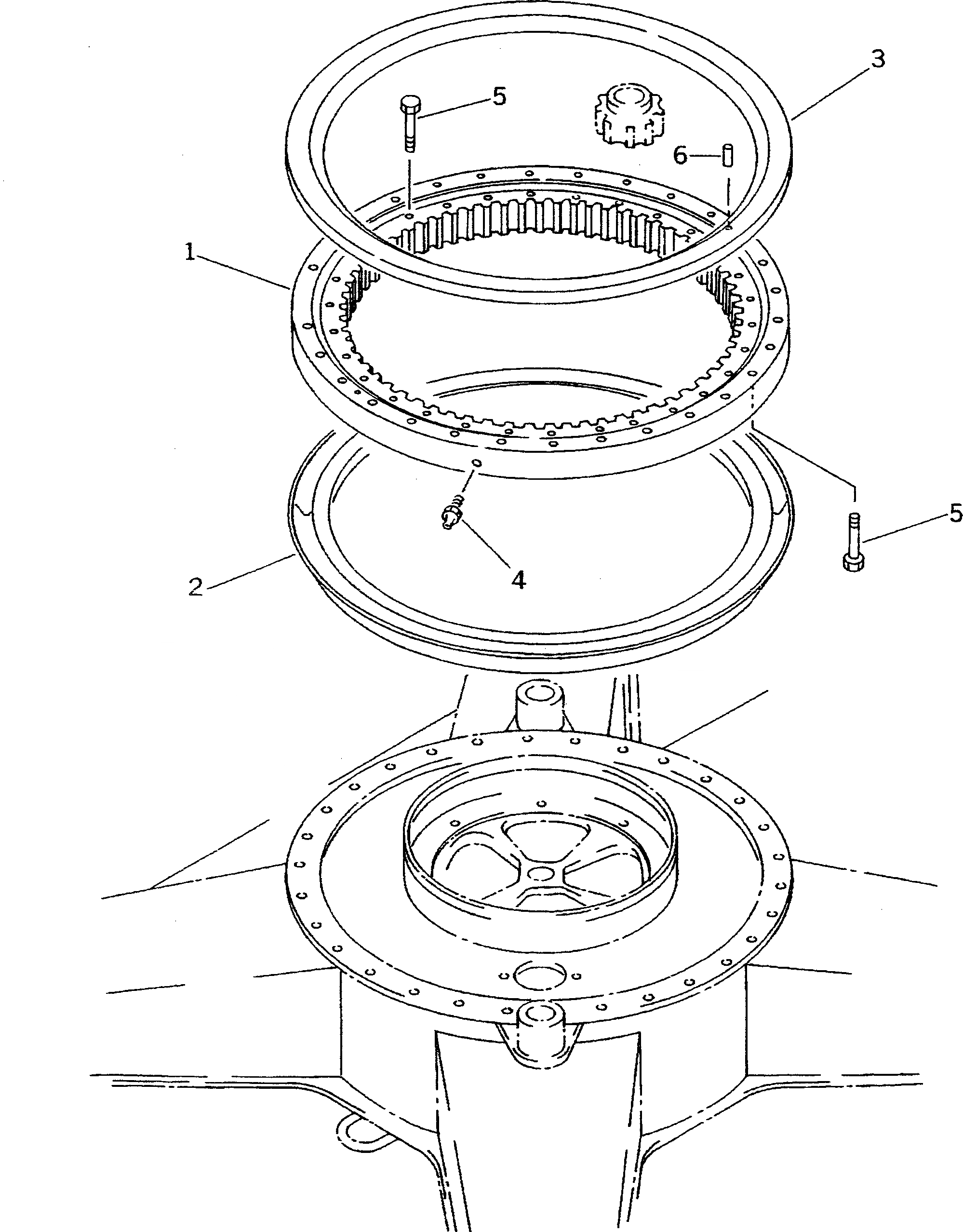
1

203-25-41301

CIRCLE,SWING

|1

203-25-41300

CIRCLE,SWING

|1

203-25-41200

CIRCLE,SWING

2

203-25-41360

SEAL,INNER

|2

203-25-41310

SEAL,INNER

3

203-25-41360

SEAL,OUTER

|3

203-25-41320

SEAL,OUTER

4

07020-00000

FITTING,GREASE

|4

07020-00000

FITTING,GREASE

5

01010-51685

BOLT

6

04020-01638

PIN,DOWEL

Выбрано товаров: 11