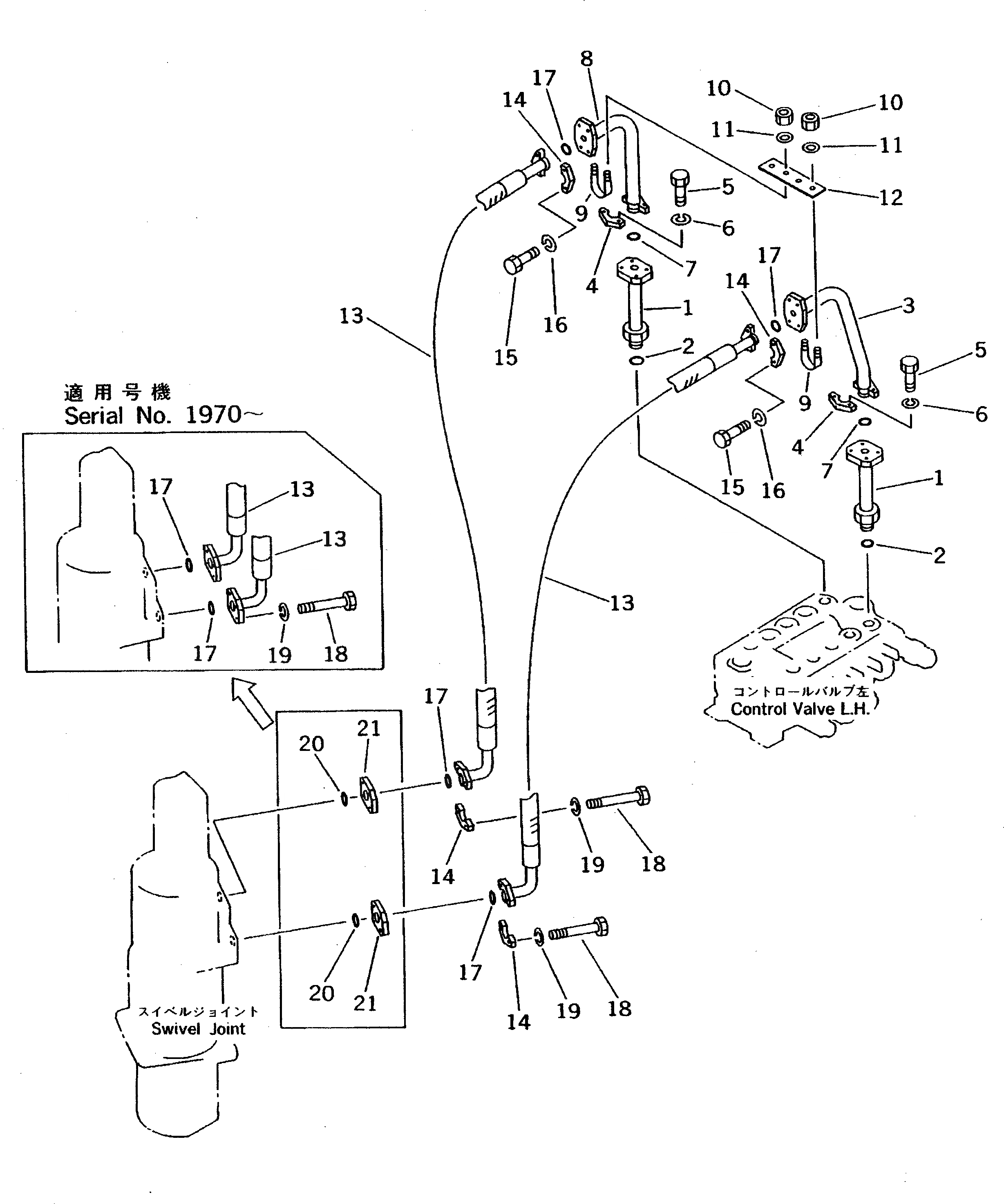
Запчасти Komatsu PW100S-3 ГИДРОЛИНИЯ (/) (ДЛЯ ОТВАЛ)(№-) УПРАВЛ-Е РАБОЧИМ ОБОРУДОВАНИЕМ

Схема запчастей Komatsu PW100S-3 - ГИДРОЛИНИЯ (/) (ДЛЯ ОТВАЛ)(№-) УПРАВЛ-Е РАБОЧИМ ОБОРУДОВАНИЕМ
FIT
1:1
100%

Артикул

Название

Примечание

Количество

1

203-62-42450

FLANGE

2

07002-12434

O-RING

3

20D-973-1370

TUBE

4

07371-30500

FLANGE,SPLIT

5

01010-50830

BOLT

6

01602-20825

WASHER,SPRING

7

07000-13022

O-RING

8

20D-973-1380

TUBE

9

07283-22236

CLIP

10

01599-01011

NUT

11

01643-31032

WASHER

12

20E-62-15130

PLATE

13

07098-00512

HOSE

14

07371-30500

FLANGE,SPLIT

15

01010-50830

BOLT

16

01602-20825

WASHER,SPRING

17

07000-13022

O-RING

18

01010-50830

BOLT

|18

01010-50845

BOLT

19

01602-20825

WASHER,SPRING

20

07000-13022

O-RING

21

07373-00500

SPACER

Выбрано товаров: 22