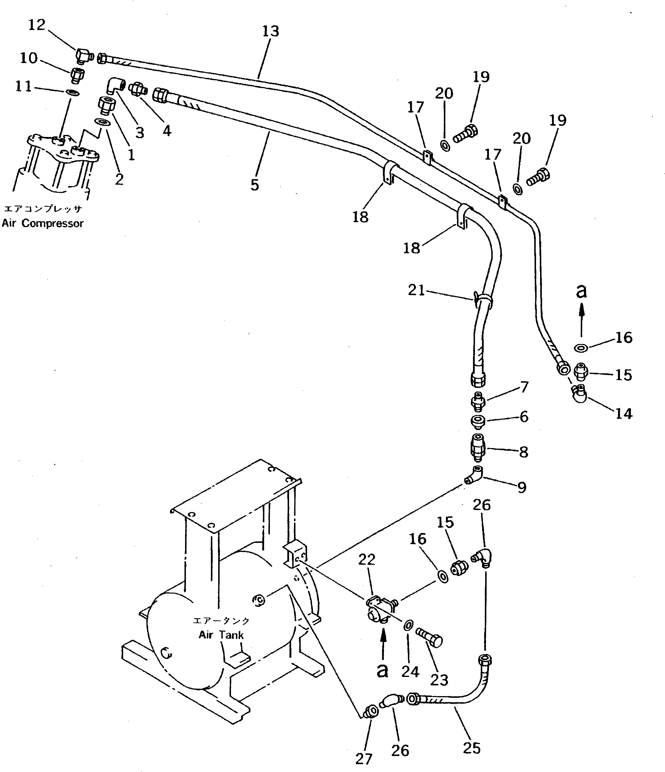
Запчасти Komatsu PW100S-3 ВЕРХН. ВОЗДУХОВОД (КОМПРЕССОР - ВОЗД. БАЛЛОН)(№-8) УПРАВЛ-Е РАБОЧИМ ОБОРУДОВАНИЕМ

Схема запчастей Komatsu PW100S-3 - ВЕРХН. ВОЗДУХОВОД (КОМПРЕССОР - ВОЗД. БАЛЛОН)(№-8) УПРАВЛ-Е РАБОЧИМ ОБОРУДОВАНИЕМ
FIT
1:1
100%

Артикул

Название

Примечание

Количество

1

113-899-6820

NIPPLE

2

205-68-51210

GASKET

3

07323-30300

ELBOW

4

07821-10801

NIPPLE

5

20G-68-13220

HOSE

6

07326-10403

ADAPTER

7

07821-10801

NIPPLE

8

281-34-11510

VALVE ASS'Y

9

07323-30400

ELBOW

10

104-890-1270

NIPPLE

11

07004-01525

GASKET

12

176-43-41350

ELBOW

13

20G-68-12350

HOSE

|13

20D-68-41120

HOSE

14

281-35-13290

ELBOW

15

205-68-51190

ADAPTER

16

07003-11217

GASKET

17

08036-01414

CLIP

18

08036-01814

CLIP

19

01010-51020

BOLT

20

01643-31032

WASHER

21

08034-00414

BAND

22

6131-81-3210

REGULATOR

23

01010-50825

BOLT

24

01643-30823

WASHER

25

20G-68-13130

HOSE

26

281-35-13290

ELBOW

27

07326-10402

ADAPTER

Выбрано товаров: 28