Качественные детали и логистика
Оригинальные и аналоговые запчасти с доставкой по России, Казахстану и Беларуси
©2022 PartSell ООО "Система" ИНН 2463123282 ОГРН 1212400004838
Центральный офис: г. Красноярск, Академика Киренского, д.87, пом.4
Телефон: 8 (800) 777-65-74 Email: zakaz@partsell.ru
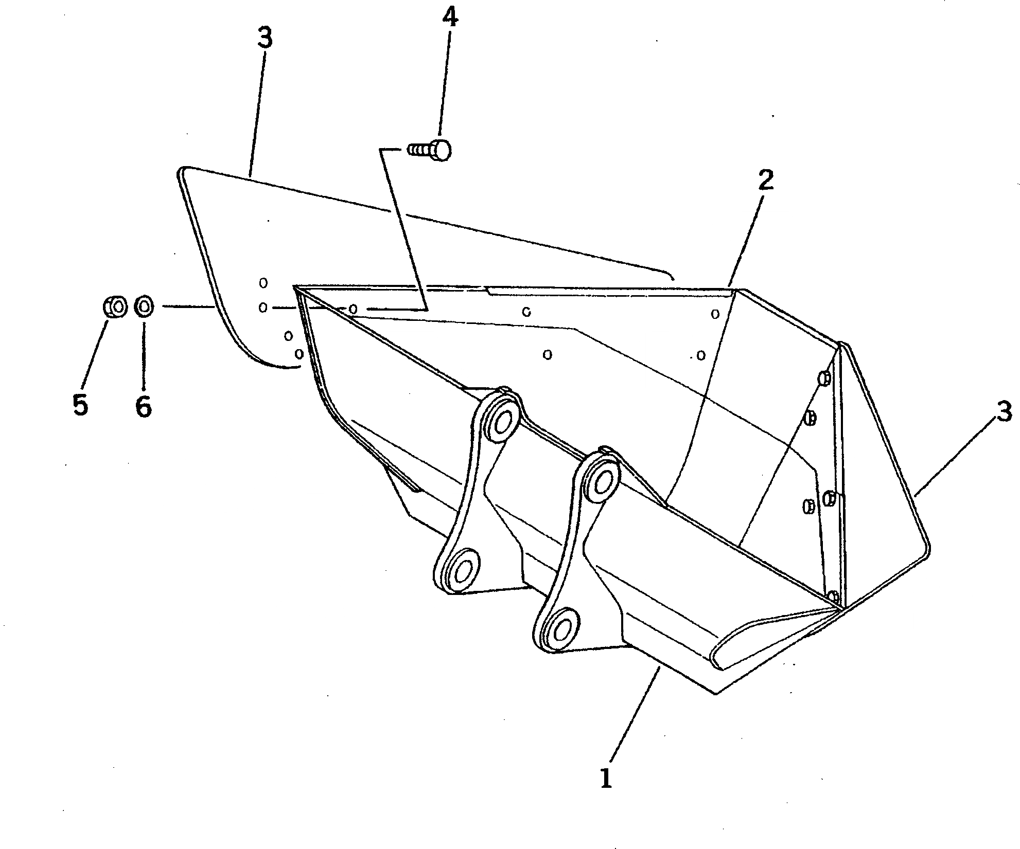
TRAPEZOIDAL КОВШ
№
Артикул
Название
Примечание
Количество
|1
202-929-0021
BUCKET ASS'Y
1
202-929-5111
BUCKET,TRAPEZOIDAL
2
202-929-1121
LIP (WELDED)
3
202-929-1150
PLATE,SIDE
4
01010-52055
BOLT
5
01580-12016
NUT
6
01643-32060
WASHER
Выбрано товаров: 0