Запчасти Komatsu PW100S-3 СОЕДИНЕНИЯ ВОЗДУХООЧИСТИТЕЛЯAND СТУПЕНИ (ШУМОПОДАВЛ. СПЕЦ-Я)(№-) СПЕЦ. APPLICATION ЧАСТИ¤ МАРКИРОВКА¤ ИНСТРУМЕНТ И РЕМКОМПЛЕКТЫ

Схема запчастей Komatsu PW100S-3 - СОЕДИНЕНИЯ ВОЗДУХООЧИСТИТЕЛЯAND СТУПЕНИ (ШУМОПОДАВЛ. СПЕЦ-Я)(№-) СПЕЦ. APPLICATION ЧАСТИ¤ МАРКИРОВКА¤ ИНСТРУМЕНТ И РЕМКОМПЛЕКТЫ
FIT
1:1
100%

Артикул

Название

Примечание

Количество

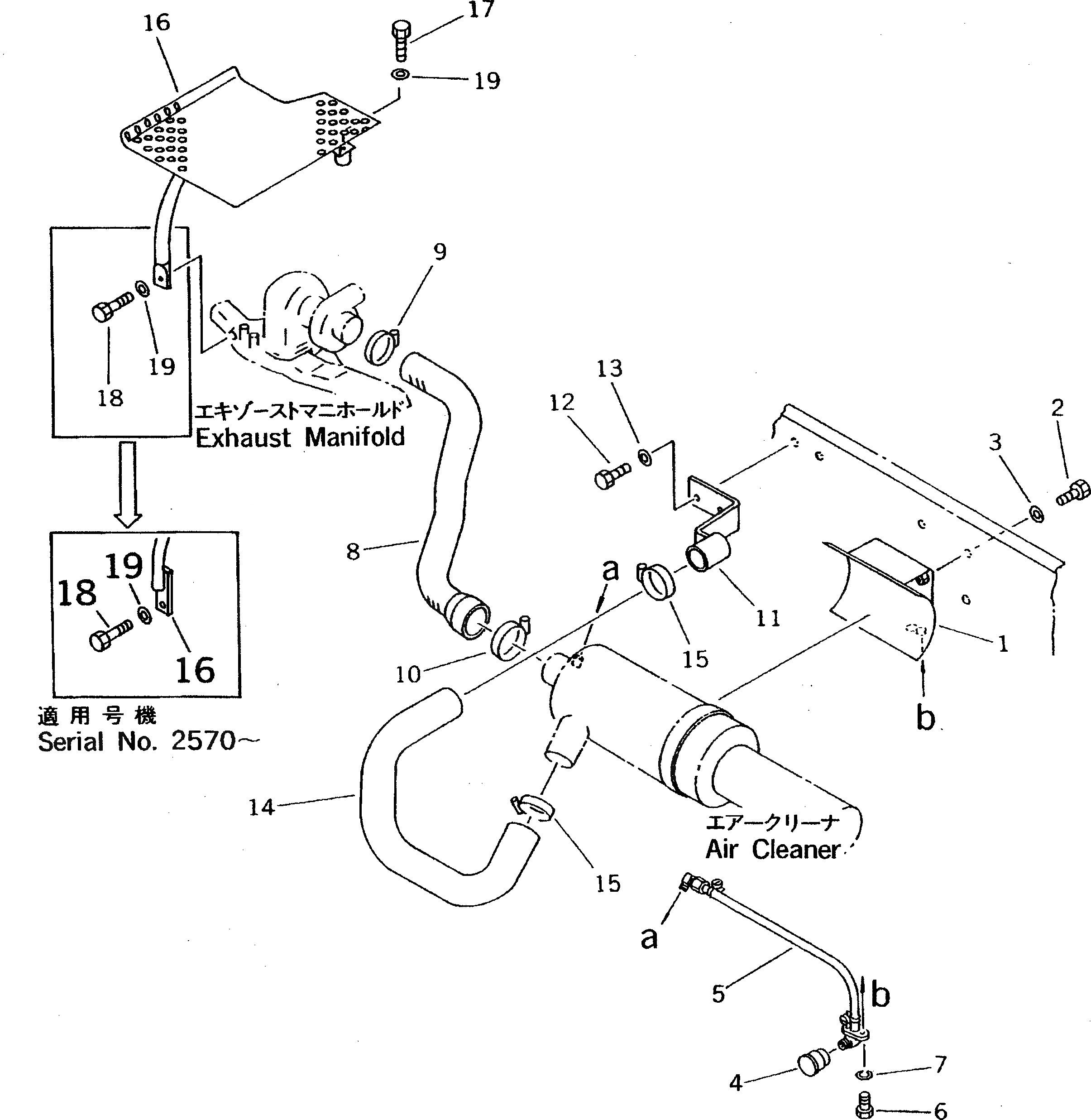
1

20D-01-44240

BRACKET

2

01010-51020

BOLT

3

01643-31032

WASHER

4

08670-12001

INDICATOR,DUST

|4

08670-01001

INDICATOR,DUST

5

08671-10040

HOSE

6

01010-50610

BOLT

7

01602-20619

WASHER,SPRING

8

20D-01-44210

HOSE

9

07281-00909

CLAMP

10

07281-01029

CLAMP

11

20D-01-44250

BRACKET

12

01010-51020

BOLT

13

01643-31032

WASHER

14

20D-01-44260

HOSE

15

07281-01029

CLAMP

16

20D-01-41163

STEP

|16

20D-01-41162

STEP

17

01010-51070

BOLT

18

01010-51035

BOLT

|18

01010-51040

BOLT

19

01643-31032

WASHER

Выбрано товаров: 22