Запчасти Komatsu PW100S-3 MACHINERY ОБСТАНОВКА (/) (ШУМОПОДАВЛ. СПЕЦ-Я)(№8-) СПЕЦ. APPLICATION ЧАСТИ¤ МАРКИРОВКА¤ ИНСТРУМЕНТ И РЕМКОМПЛЕКТЫ

Схема запчастей Komatsu PW100S-3 - MACHINERY ОБСТАНОВКА (/) (ШУМОПОДАВЛ. СПЕЦ-Я)(№8-) СПЕЦ. APPLICATION ЧАСТИ¤ МАРКИРОВКА¤ ИНСТРУМЕНТ И РЕМКОМПЛЕКТЫ
FIT
1:1
100%

Артикул

Название

Примечание

Количество

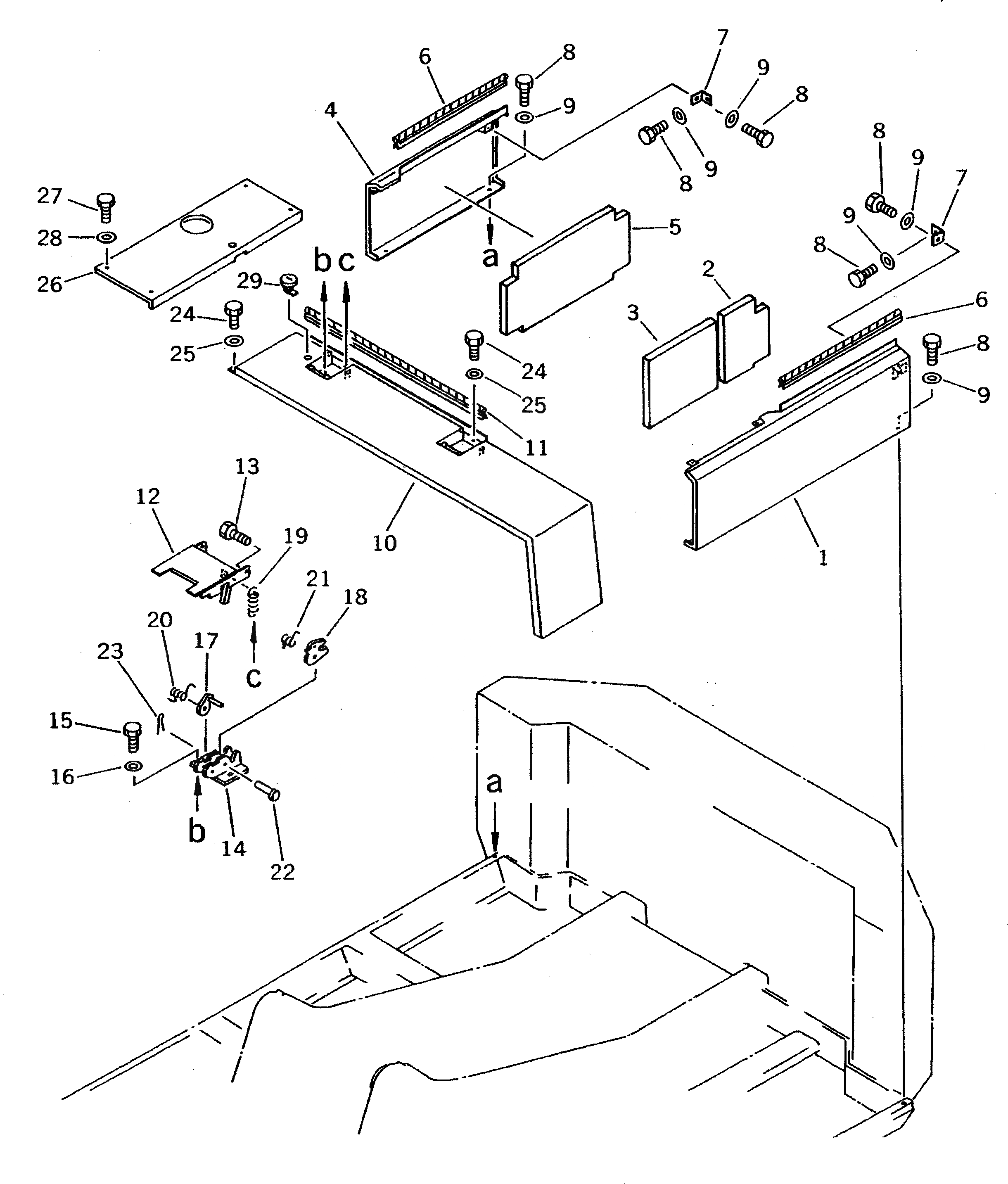
1

20D-54-41331

COVER

2

20D-54-41820

SHEET

3

20D-54-42160

SHEET

4

20D-54-41342

COVER

5

20D-54-41840

SHEET

6

09412-10007

TRIM

7

203-54-42780

PLATE

8

01010-51020

BOLT

9

01643-31032

WASHER

10

203-54-42366

COVER

11

09412-10009

SEAL

12

203-54-45730

COVER

13

21K-54-26370

BOLT

14

21K-54-26310

BRACKET

15

01010-51020

BOLT

16

01643-31032

WASHER

17

21K-54-26330

PLATE

18

21K-54-26340

LEVER

19

21K-54-26380

SPRING

20

21K-54-26350

SPRING

21

21K-54-26360

SPRING

22

04205-11038

PIN

23

04050-13020

PIN,COTTER

24

01010-51020

BOLT

25

01643-31032

WASHER

26

203-54-42822

COVER

27

01010-51020

BOLT

28

01643-31032

WASHER

29

205-60-71220

LOCK ASS'Y

Выбрано товаров: 29