Запчасти Komatsu PW100S-3 MACHINERY ОБСТАНОВКА (/) (ШУМОПОДАВЛ. СПЕЦ-Я)(№-) СПЕЦ. APPLICATION ЧАСТИ¤ МАРКИРОВКА¤ ИНСТРУМЕНТ И РЕМКОМПЛЕКТЫ

Схема запчастей Komatsu PW100S-3 - MACHINERY ОБСТАНОВКА (/) (ШУМОПОДАВЛ. СПЕЦ-Я)(№-) СПЕЦ. APPLICATION ЧАСТИ¤ МАРКИРОВКА¤ ИНСТРУМЕНТ И РЕМКОМПЛЕКТЫ
FIT
1:1
100%

Артикул

Название

Примечание

Количество

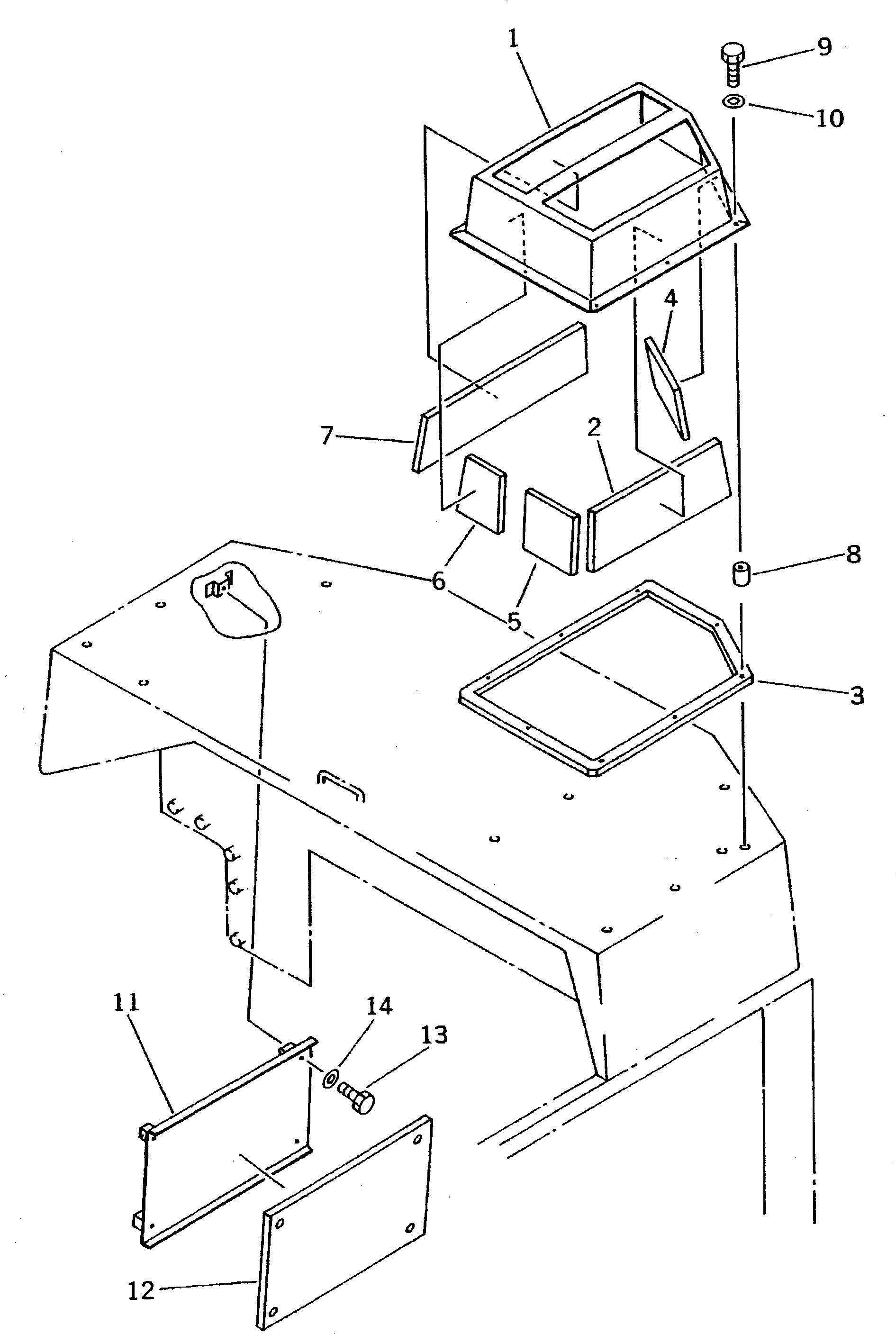
1

20D-54-42870

COVER

2

20D-54-42450

SHEET

3

20D-54-42960

SHEET

4

20D-54-42610

SHEET

5

20D-54-42590

SHEET

6

20D-54-42580

SHEET

7

20D-54-42570

SHEET

8

205-970-2410

PIPE

9

01010-51050

BOLT

10

01643-31032

WASHER

11

20D-54-42930

COVER

12

20D-54-42940

SHEET

13

01010-51020

BOLT

14

01643-31032

WASHER

Выбрано товаров: 14