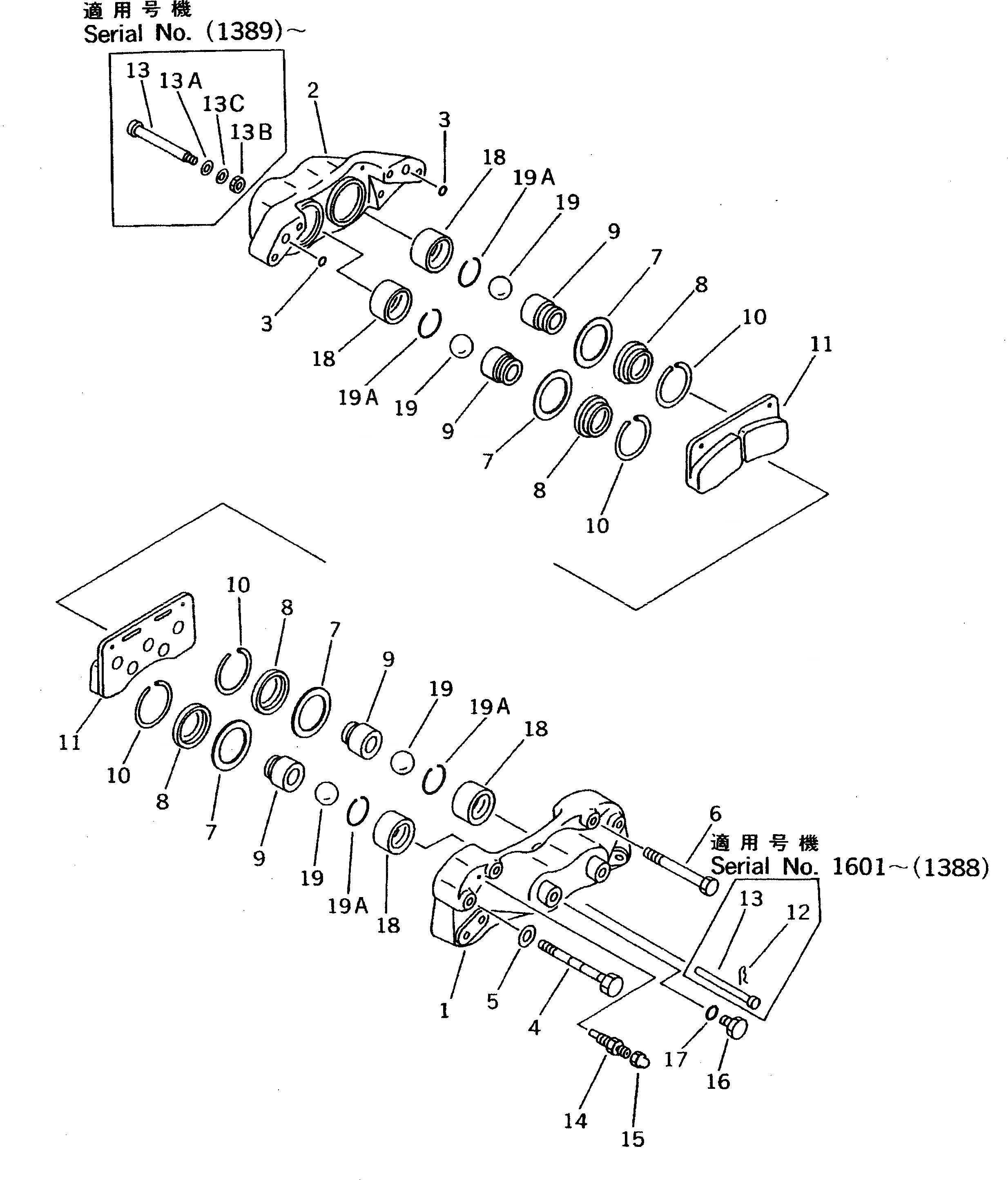
Запчасти Komatsu PW100S-3 ПЕРЕДН. ТОРМОЗ. CALIPER(№-) ШАССИ¤ ТРАНСМИССИЯ¤ МОСТ¤ КОЛЕСА И ВОЗД. СИСТЕМА

Схема запчастей Komatsu PW100S-3 - ПЕРЕДН. ТОРМОЗ. CALIPER(№-) ШАССИ¤ ТРАНСМИССИЯ¤ МОСТ¤ КОЛЕСА И ВОЗД. СИСТЕМА
FIT
1:1
100%

Артикул

Название

Примечание

Количество

|1

20D-22-40000

FRONT AXLE ASS'Y

|1

20G-32-21473

BRAKE ASS'Y,L.H.

|1

20G-32-21106

BRAKE ASS'Y,L.H.

|1

20G-32-21105

BRAKE ASS'Y,L.H.

|1

20G-32-21103

BRAKE ASS'Y,L.H.

|1

20G-32-21107

BRAKE ASS'Y,R.H.

|1

20G-32-21106

BRAKE ASS'Y,R.H.

|1

20G-32-21105

BRAKE ASS'Y,R.H.

|1

20G-32-21103

BRAKE ASS'Y,R.H.

|1

20G-32-21112

CALIPER ASS'Y

|1

20G-32-21111

CALIPER ASS'Y

1

CALIPER,HALF

|1

CALIPER,HALF

2

CALIPER,HALF

3

SEAL,CALIPER (K1)

4

BOLT,BRIDGE

|4

BOLT,BRIDGE

5

WASHER

6

BOLT,BRIDGE

|6

BOLT,BRIDGE

7

SEAL,PISTON (K1)

8

20G-32-21230

SEAL,DUST (K1)

9

20G-32-21241

INSERT,PISTON

10

20G-32-21250

RING,RETAINING

11

PAD (K2)

12

20G-32-21320

CLIP (K2)

13

20G-32-21333

PIN,SUPPORT

|13

20G-32-21332

PIN,SUPPORT

|13

20G-32-21331

PIN,SUPPORT

13A

20G-32-21460

WASHER

13B

426-09-11130

NUT

13C

20G-32-21510

SHIM

14

20G-32-21130

BREATHER,BLEED

|14

20G-32-21130

BREATHER,BLEED

15

20G-32-21140

CAP

|15

20G-32-21140

CAP

16

20G-32-21150

PLUG

17

20G-32-21160

O-RING

18

20G-32-21211

PISTON

19

20G-32-21280

BALL

19A

20G-32-21290

O-RING

K1

20G-32-21221

CALIPER SEAL KIT

K2

20G-32-21312

CALIPER PAD KIT

Выбрано товаров: 43