Запчасти Komatsu PW100S-3B ЭЛЕКТРИКА (/) (ROAD CONSTRUCTION СПЕЦ-Я.)(№8-) КОМПОНЕНТЫ ДВИГАТЕЛЯ И ЭЛЕКТРИКА

Схема запчастей Komatsu PW100S-3B - ЭЛЕКТРИКА (/) (ROAD CONSTRUCTION СПЕЦ-Я.)(№8-) КОМПОНЕНТЫ ДВИГАТЕЛЯ И ЭЛЕКТРИКА
FIT
1:1
100%

Артикул

Название

Примечание

Количество

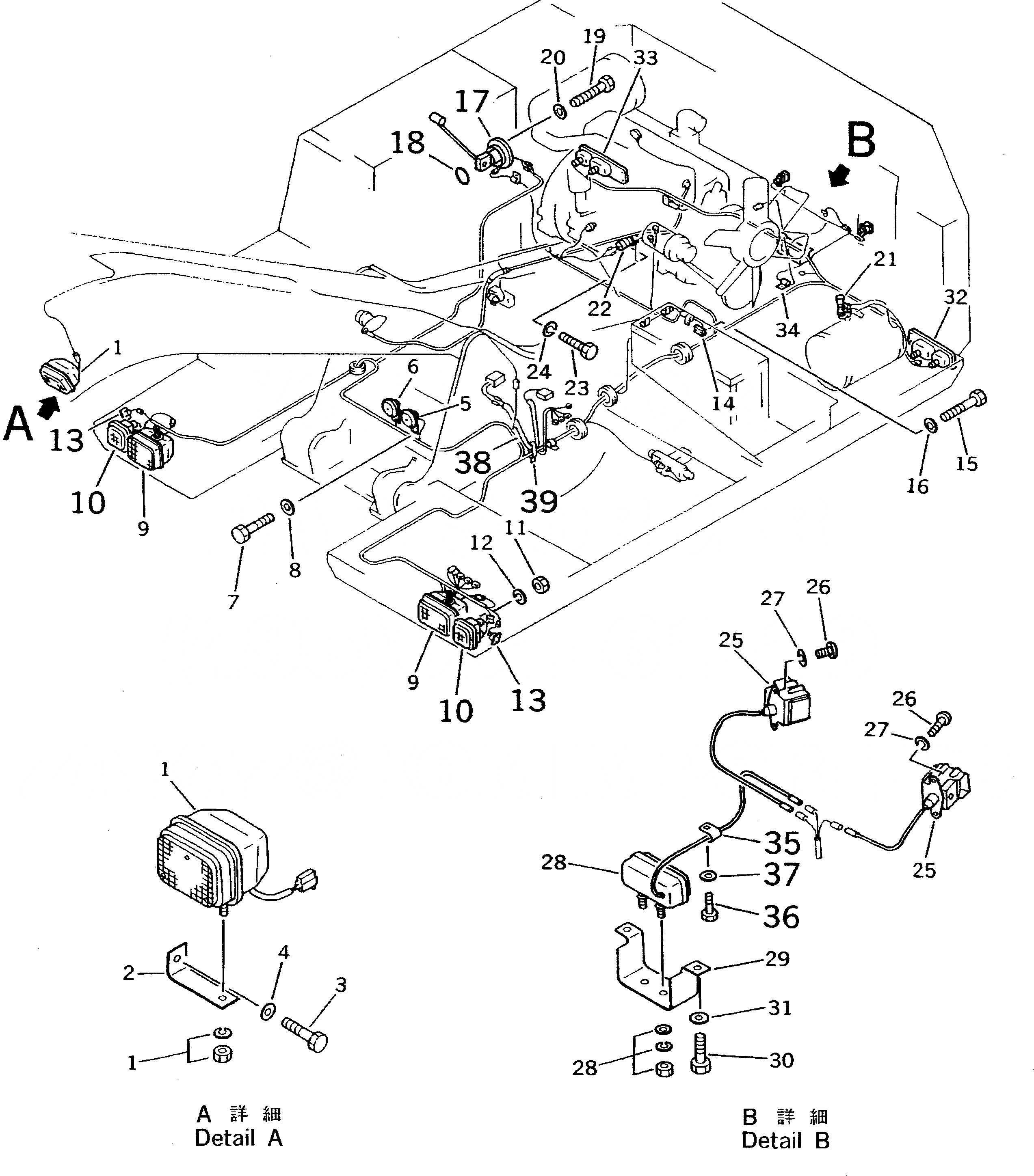
1

203-06-56140

LAMP ASS'Y,WORK

|1

22W-06-12170

BULB¤ 24V

2

203-06-41130

BRACKET

3

01010-51430

BOLT

4

01643-31445

WASHER

5

08160-52400

HORN

6

08160-52410

HORN

7

01010-50810

BOLT

8

01641-20812

WASHER

9

20G-06-13350

LAMP,HEAD

|9

20G-06-13360

BULB¤ 50/60W

10

20B-06-31110

LAMP ASS'Y,COMBINATION

|10

IC961-4050

BULB¤ 25W,TURN SIGNAL

|10

IC961-3210

BULB¤ 6W,PARKING

|10

IC13G370-0011

LENS

11

01580-10504

NUT

12

01601-20513

WASHER,SPRING

13

20D-06-12430

LAMP ASS'Y,SIDE WINKER

|13

08102-02403

BULB¤ 3W

|13

IC15F080-1001

LENS

14

22W-06-15861

SWITCH,LIMIT

15

01010-51035

BOLT

16

01643-31032

WASHER

17

7861-91-4800

SENSOR,FUEL

18

07000-02085

O-RING

19

01010-51016

BOLT

20

01643-31032

WASHER

21

22W-44-11661

SWITCH,AIR PRESSURE

22

08165-31000

BUZZER,BACK

23

01010-51016

BOLT

24

01602-21030

WASHER,SPRING

25

22W-06-12390

LAMP ASS'Y,LICENSE PLATE

|25

08110-12410

BULB¤ 12W

|25

IC161140-0011

LENS

26

01220-40508

SCREW

27

01601-20513

WASHER,SPRING

28

20B-06-11910

LAMP ASS'Y,BACK

|28

08110-02410

BULB¤ 10W

29

20D-06-41240

BRACKET

30

01010-51020

BOLT

31

01643-31032

WASHER

32

20G-06-13210

LAMP ASS'Y,COMBINATION¤ L.H.

|32

08105-12420

BULB¤ 25W,TURN SIGNAL

|32

08104-12420

BULB¤ 25/10W,PARKING

|32

IC14G037-1001

LENS

33

20G-06-13220

LAMP ASS'Y,COMBINATION¤ R.H.

|33

08105-12420

BULB¤ 25W,TURN SIGNAL

|33

08104-12420

BULB¤ 25/10W,PARKING

|33

IC14G036-1001

LENS

34

08036-10814

CLIP

35

08036-10610

CLIP

36

01010-50816

BOLT

37

01643-30823

WASHER

38

20D-06-48220

WIRE,(FOR STEERING AUTO SELECTOR)

39

08034-00414

BAND,(FOR STEERING AUTO SELECTOR)

Выбрано товаров: 55