Запчасти Komatsu PW100S-3B МОТОР ХОДА (/) (БЛОК) УПРАВЛ-Е РАБОЧИМ ОБОРУДОВАНИЕМ

Схема запчастей Komatsu PW100S-3B - МОТОР ХОДА (/) (БЛОК) УПРАВЛ-Е РАБОЧИМ ОБОРУДОВАНИЕМ
FIT
1:1
100%

Артикул

Название

Примечание

Количество

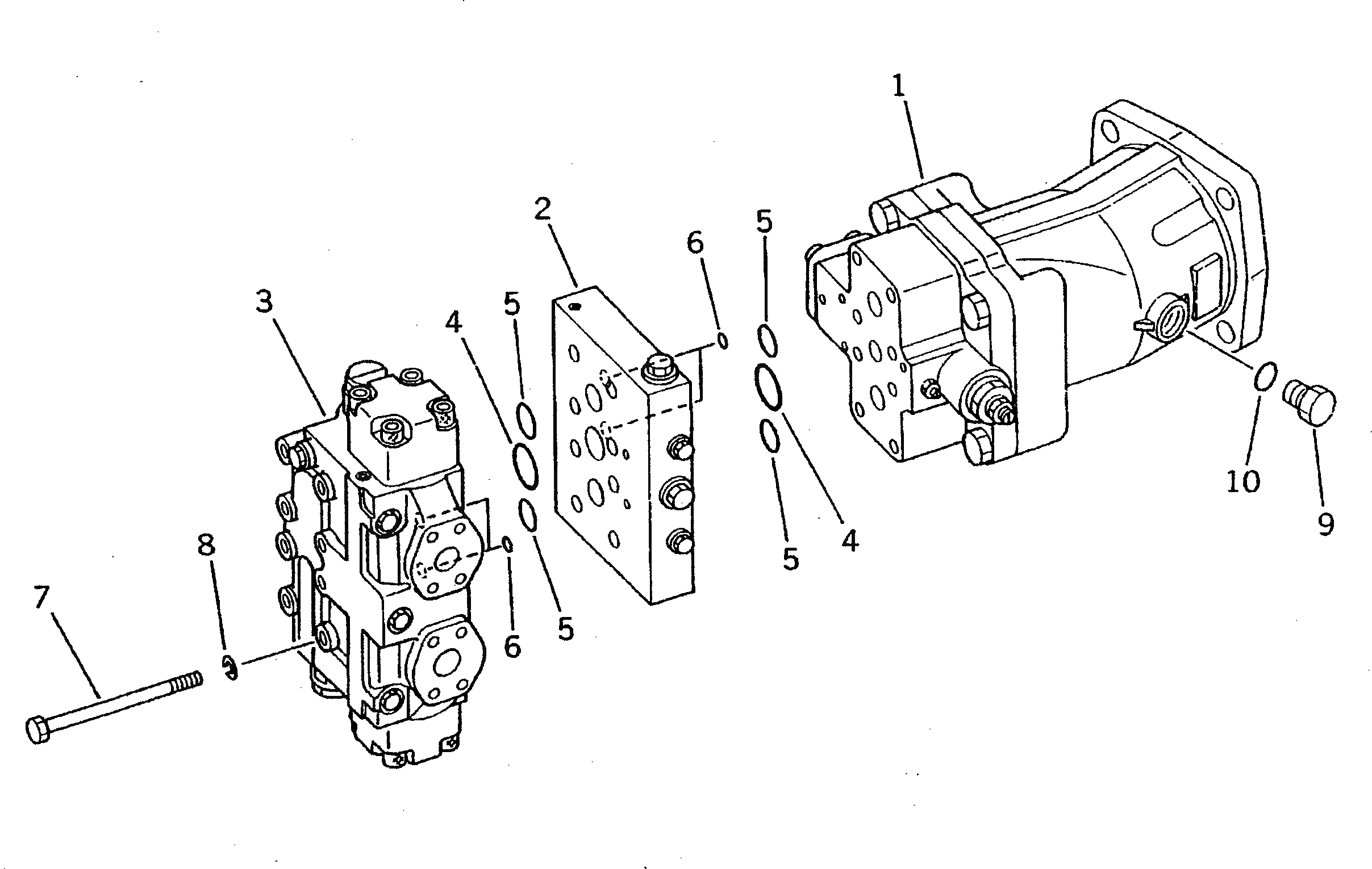
|1

706-86-01010

TRAVEL MOTOR ASS'Y

|1

706-86-00304

TRAVEL MOTOR ASS'Y

|1

706-86-00302

TRAVEL MOTOR ASS'Y

1

706-86-03104

MOTOR ASS'Y

|1

706-86-03103

MOTOR ASS'Y

|1

706-86-40202

MOTOR ASS'Y

2

706-76-79100

VALVE ASS'Y

3

702-66-01300

BRAKE VALVE ASS'Y

|3

706-76-71401

BRAKE VALVE ASS'Y

4

07000-03045

O-RING

5

07000-13032

O-RING

6

07000-12010

O-RING

7

01011-51265

BOLT

8

01602-21236

WASHER,SPRING

9

07040-12414

PLUG

10

07002-02434

O-RING

Выбрано товаров: 16