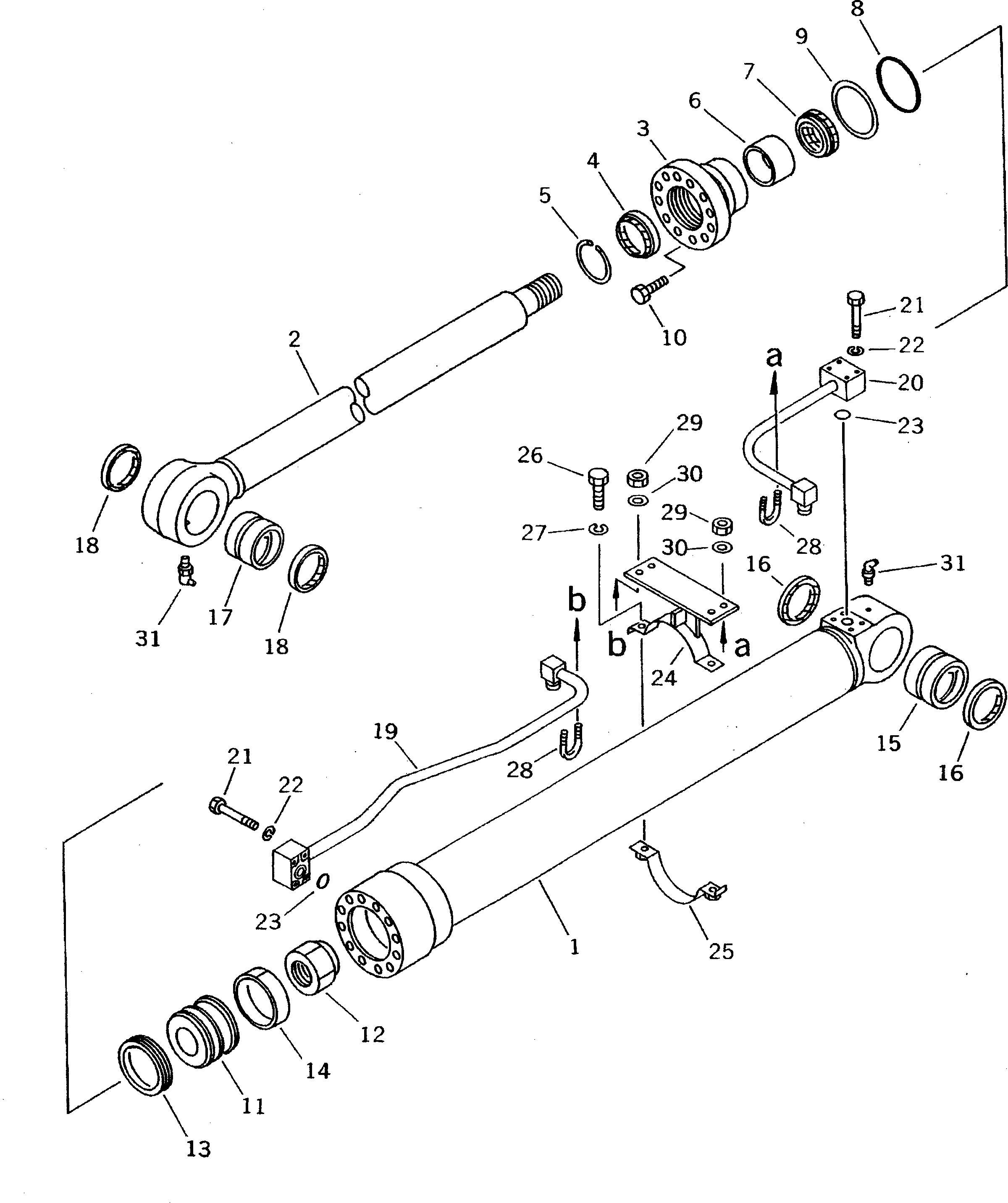
Запчасти Komatsu PW100S-3B ЦИЛИНДР КОВША(№-) РАБОЧЕЕ ОБОРУДОВАНИЕ

Схема запчастей Komatsu PW100S-3B - ЦИЛИНДР КОВША(№-) РАБОЧЕЕ ОБОРУДОВАНИЕ
FIT
1:1
100%

Артикул

Название

Примечание

Количество

|1

20D-63-02040

CYLINDER ASS'Y

1

203-63-72540

CYLINDER

2

20D-63-72120

ROD,PISTON

3

707-27-10170

HEAD,CYLINDER

4

07016-20658

SEAL,DUST

5

07179-12079

RING,SNAP

6

07177-06530

BUSHING

7

707-51-65211

PACKING,ROD

8

07000-12095

O-RING

9

707-35-91011

RING,BACK-UP

10

01010-51450

BOLT

11

707-36-10261

PISTON

12

07165-14547

NUT

13

707-44-10080

RING,PISTON

14

07155-01025

RING,WEAR

15

707-76-65040

BUSHING

16

07145-00065

SEAL,DUST

17

707-76-65050

BUSHING

18

707-77-65110

SEAL,DUST

19

20D-62-44760

TUBE

20

20D-62-44750

TUBE

21

01010-50850

BOLT

22

01602-20825

WASHER,SPRING

23

07000-13025

O-RING

24

707-88-95130

BAND

25

707-88-97720

BAND

26

01010-51035

BOLT

27

01602-21030

WASHER,SPRING

28

07283-22236

CLIP

29

01599-01011

NUT

30

01643-31032

WASHER

31

07020-00675

FITTING,GREASE

Выбрано товаров: 32