Запчасти Komatsu PW100S-3B ОСНОВНАЯ РАМА (ROAD CONSTRUCTION СПЕЦ-Я.)(№8-) СПЕЦ. APPLICATION ЧАСТИ¤ МАРКИРОВКА¤ ИНСТРУМЕНТ И РЕМКОМПЛЕКТЫ

Схема запчастей Komatsu PW100S-3B - ОСНОВНАЯ РАМА (ROAD CONSTRUCTION СПЕЦ-Я.)(№8-) СПЕЦ. APPLICATION ЧАСТИ¤ МАРКИРОВКА¤ ИНСТРУМЕНТ И РЕМКОМПЛЕКТЫ
FIT
1:1
100%

Артикул

Название

Примечание

Количество

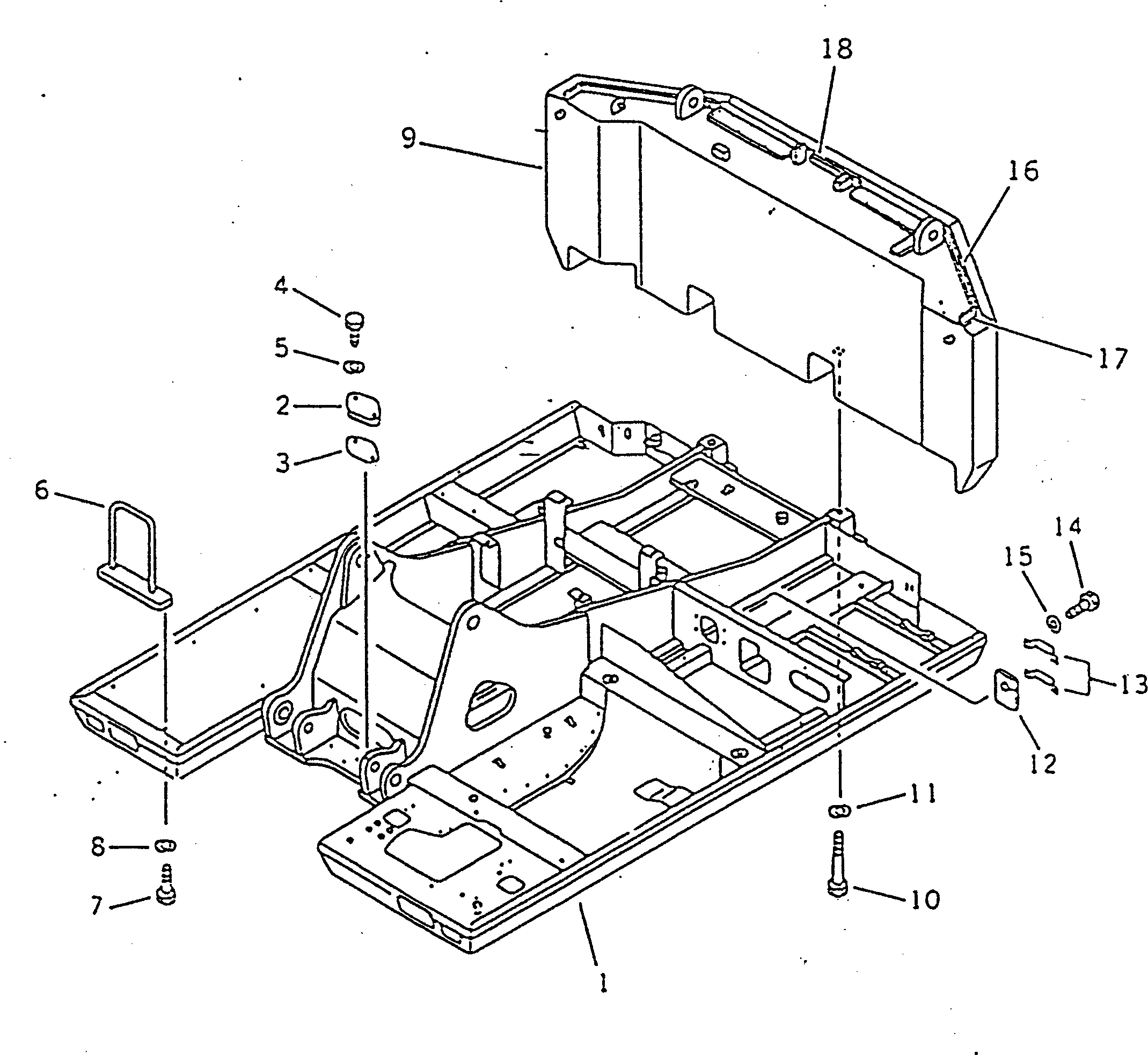
1

20D-46-48110

FRAME

2

203-46-31131

COVER

3

203-46-31181

GASKET

4

01010-51230

BOLT

5

01643-31232

WASHER

6

20D-46-41192

STAY

7

01010-51235

BOLT

8

01643-31232

WASHER

9

20D-46-42610

WEIGHT

10

203-46-31221

BOLT

11

01643-33690

WASHER

12

20D-46-41150

SHEET

13

20D-46-41160

CLAMP

14

01010-50820

BOLT

15

01643-30823

WASHER

16

20D-54-41490

TRIM

17

20D-54-44640

TRIM

18

09412-00003

SEAL

Выбрано товаров: 18