Запчасти Komatsu PW100S-3B НИЖН. ВОЗДУХОВОД (ПОВОРОТНОЕ СОЕДИНЕНИЕ - ВОЗД. МАЧТАER)(№-) ШАССИ¤ ТРАНСМИССИЯ¤ МОСТ¤ КОЛЕСА И ВОЗД. СИСТЕМА

Схема запчастей Komatsu PW100S-3B - НИЖН. ВОЗДУХОВОД (ПОВОРОТНОЕ СОЕДИНЕНИЕ - ВОЗД. МАЧТАER)(№-) ШАССИ¤ ТРАНСМИССИЯ¤ МОСТ¤ КОЛЕСА И ВОЗД. СИСТЕМА
FIT
1:1
100%

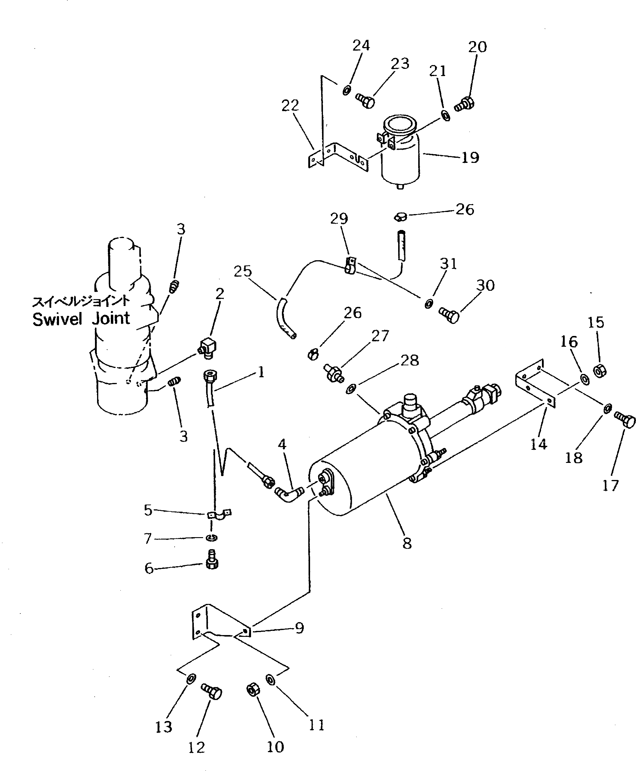
Артикул

Название

Примечание

Количество

1

20D-68-41171

TUBE

2

234-975-4810

ELBOW

3

07042-00211

PLUG

4

20D-68-12940

ELBOW

5

07282-01048

CLAMP

6

01010-50612

BOLT

7

01602-20619

WASHER,SPRING

8

20D-68-41760

AIR MASTER ASS'Y

9

20D-68-41211

PLATE

10

01582-11008

NUT

11

01643-31032

WASHER

12

01010-51020

BOLT

13

01643-31032

WASHER

14

20D-68-41770

BRACKET

15

01582-11008

NUT

16

01643-31032

WASHER

17

01010-51020

BOLT

18

01643-31032

WASHER

19

20D-68-12690

TANK

20

01010-50616

BOLT

21

01643-30623

WASHER

22

20D-68-41790

BRACKET

23

01010-51020

BOLT

24

01643-31032

WASHER

25

20D-68-41960

HOSE

26

20K-68-12410

CLAMP

27

20D-68-12120

CONNECTOR

28

20D-68-12130

GASKET

29

08036-01814

CLIP

30

01010-51016

BOLT

31

01643-31032

WASHER

Выбрано товаров: 31