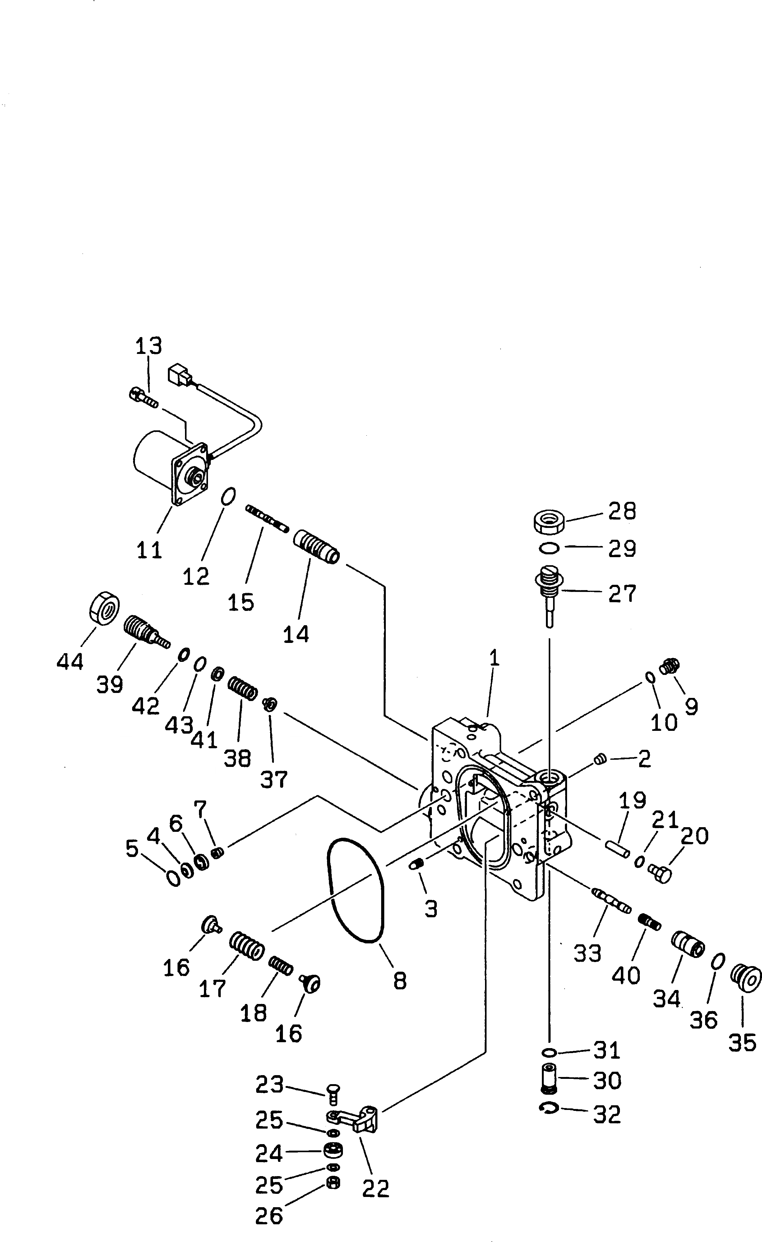
Запчасти Komatsu PW130-6K ГИДР. НАСОС. (/) (СЕРВОКЛАПАН) ГИДРАВЛИКА

Схема запчастей Komatsu PW130-6K - ГИДР. НАСОС. (/) (СЕРВОКЛАПАН) ГИДРАВЛИКА
FIT
1:1
100%

Артикул

Название

Примечание

Количество

|1

708-1L-00032

PUMP ASS'Y

|1

708-1L-03203

.SERVO VALVE ASS'Y

|1

708-2L-03811

..BODY ASS'Y

1

...BODY

2

...PLUG

3

...EXPANDER

4

708-2L-25480

..FILTER

5

708-2L-25490

..O-RING

6

708-2L-25631

SPACER

7

708-2L-25760

ORIFICE

8

07000-02110

..O-RING

9

708-8E-16150

..PLUG

10

07002-11023

..O-RING

11

708-2L-25211

..SOLENOID ASS'Y

12

07000-02016

..O-RING

13

01252-60612

..BOLT

14

708-2L-25223

..SLEEVE

15

708-2L-25232

..SPOOL

16

708-2L-25291

..SEAT

17

708-2L-25251

..SPRING

18

708-2L-25261

..SPRING

19

708-2L-25281

..PISTON

20

07040-11007

..PLUG

21

07002-01023

..O-RING

22

708-2L-25373

..LEVER

23

708-2L-25311

..PIN

24

708-2L-25330

..BEARING

25

708-2L-25321

..WASHER

26

01580-00605

..NUT

27

708-2L-25340

..PLUG

28

01583-11811

..NUT

29

07002-01823

..O-RING

30

708-2L-25382

..PLUG

31

07000-02010

..O-RING

32

04065-01610

..RING

33

708-2L-25513

..SPOOL

34

708-2L-25521

..SLEEVE

35

708-2L-25531

..PLUG

36

07002-12034

..O-RING

37

708-2L-25542

SEAT

38

708-2L-25551

SPRING

39

708-2L-25621

PLUG

40

708-2L-25611

PISTON

41

708-2L-25640

SEAT

42

07001-02012

RING,BACK-UP

43

07000-12012

O-RING

44

01583-12012

NUT

Выбрано товаров: 47