Запчасти Komatsu PW130-6K КЛАПАН ТРУБЫ (ГЛАВН.) ГИДРАВЛИКА

Схема запчастей Komatsu PW130-6K - КЛАПАН ТРУБЫ (ГЛАВН.) ГИДРАВЛИКА
FIT
1:1
100%

Артикул

Название

Примечание

Количество

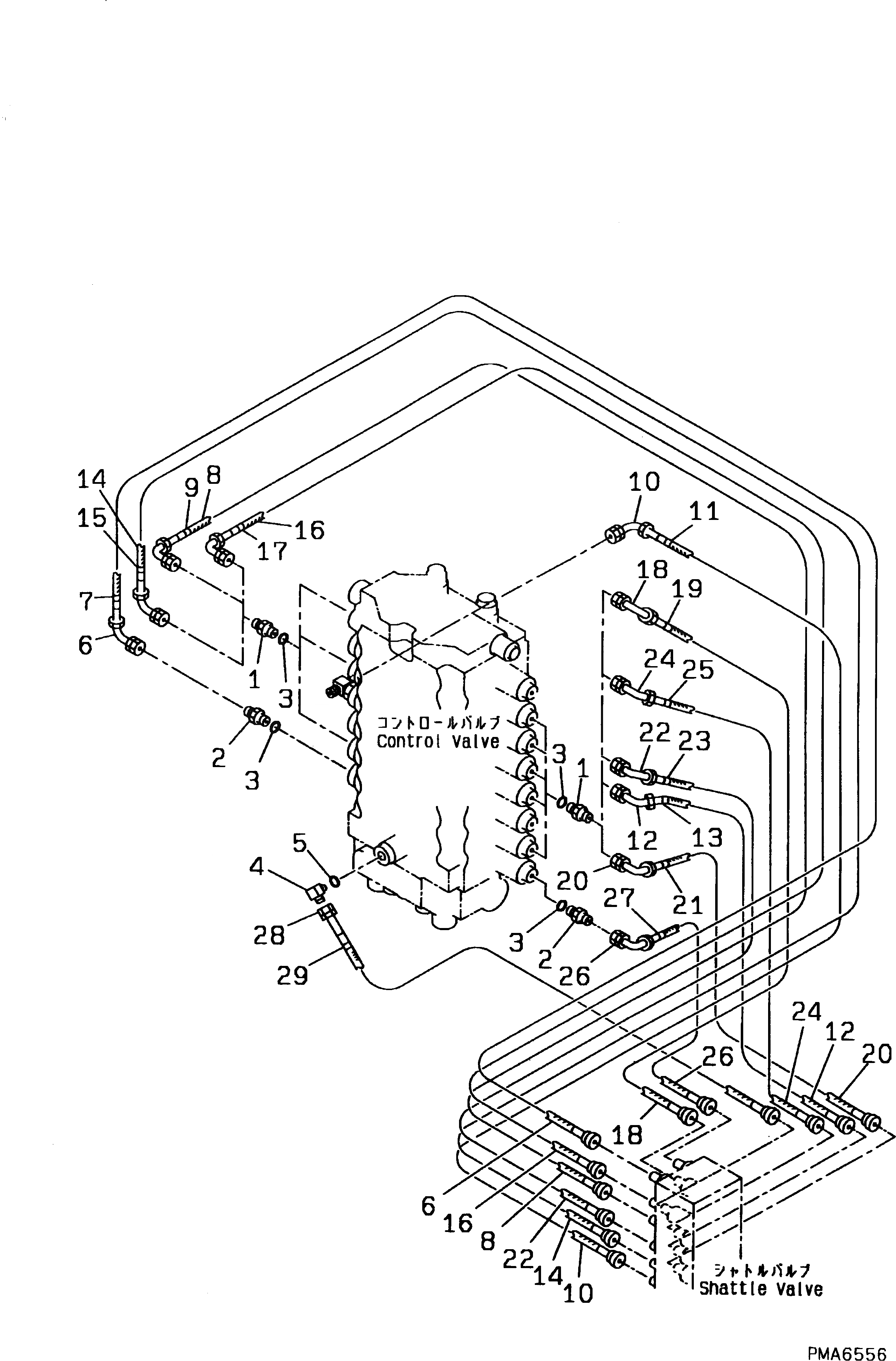
1

07230-20210

UNION

2

203-62-63560

NIPPLE

3

07002-01423

O-RING

4

07235-10210

ELBOW

5

07002-01423

O-RING

6

203-62-62920

HOSE¤ 1300MM

7

203-62-57910

MARK¤ 1

8

203-62-62910

HOSE¤ 1200MM

9

203-62-57920

MARK¤ 2

10

203-62-62930

HOSE¤ 1100MM

11

203-62-57930

MARK¤ 3

12

203-62-62880

HOSE¤ 600MM

13

203-62-57940

MARK¤ 4

14

203-62-62920

HOSE¤ 1300MM

15

203-62-57950

MARK¤ 5

16

203-62-62920

HOSE¤ 1300MM

17

203-62-57960

MARK¤ 6

18

20E-62-K4910

HOSE¤ 800MM

19

203-62-57970

MARK¤ 7

20

20E-62-K4860

HOSE

21

203-62-57980

MARK¤ 8

22

203-62-62860

HOSE¤ 650MM

23

203-62-62390

MARK¤ 9

24

20E-62-K4830

HOSE¤ 675MM

25

203-62-58110

MARK¤ 11

26

20E-62-K4850

HOSE

27

203-62-58120

MARK¤ 12

28

20E-62-K4910

HOSE¤ 800MM

29

203-62-58180

MARK¤ S1

Выбрано товаров: 29