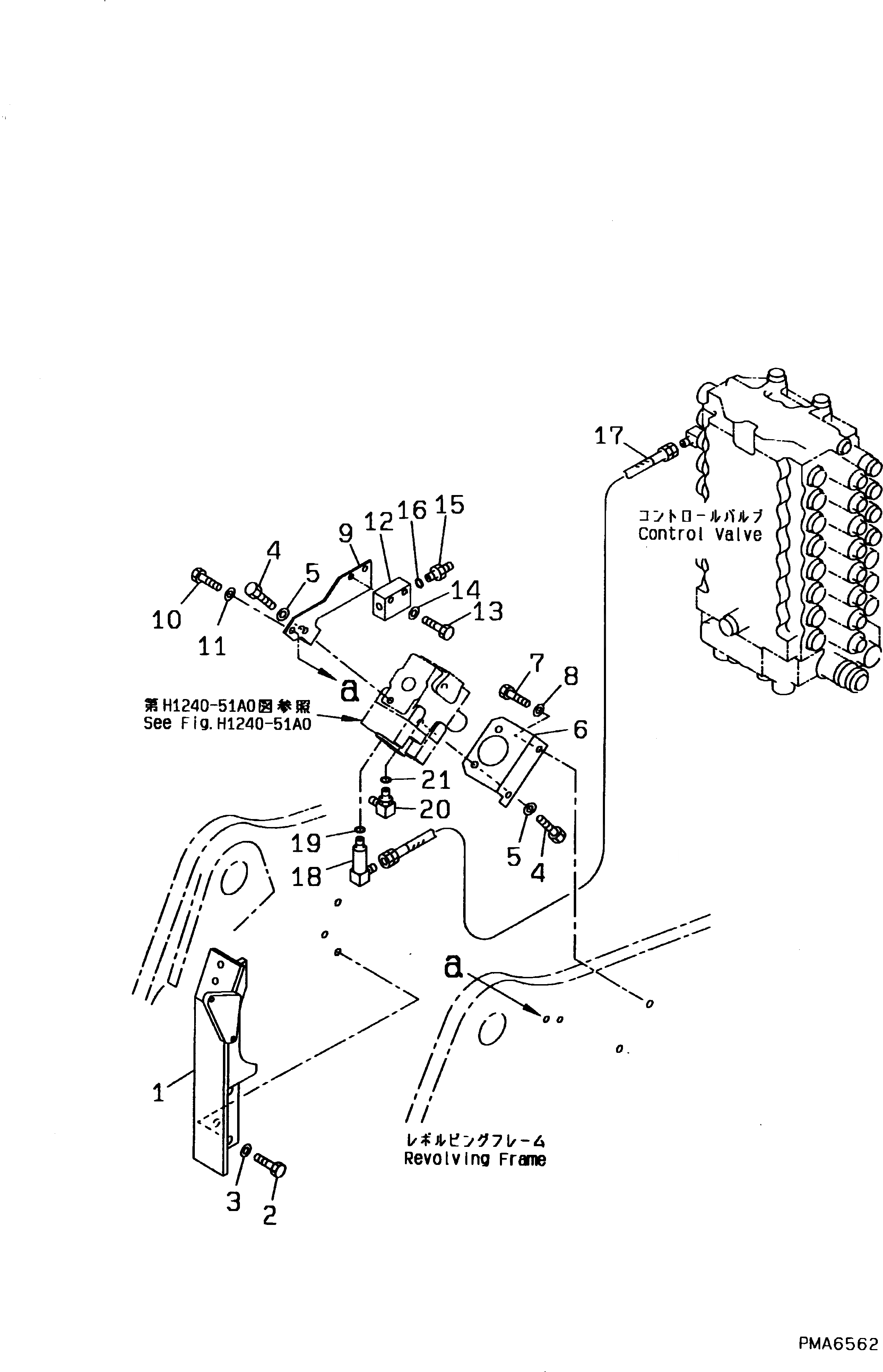
Запчасти Komatsu PW130-6K НАВЕСН. ОБОРУД ТРУБЫ ЛИНИЯ (БЛОКИР. СТРЕЛЫ КЛАПАН КРЕПЛЕНИЕ)(№K-K8) ГИДРАВЛИКА

Схема запчастей Komatsu PW130-6K - НАВЕСН. ОБОРУД ТРУБЫ ЛИНИЯ (БЛОКИР. СТРЕЛЫ КЛАПАН КРЕПЛЕНИЕ)(№K-K8) ГИДРАВЛИКА
FIT
1:1
100%

Артикул

Название

Примечание

Количество

1

20E-62-K4760

BRACKET

2

01010-51230

BOLT

3

01643-31232

WASHER

4

01010-51020

BOLT

5

01643-31032

WASHER

6

203-62-61251

BRACKET

7

01010-51230

BOLT

8

01643-31232

WASHER

9

20E-62-K1111

BRACKET

10

01010-51030

BOLT

11

01643-31032

WASHER

12

20E-62-K1130

BRACKET

13

01010-51025

BOLT

14

01643-31032

WASHER

15

07230-20422

UNION

16

07002-12034

O-RING

17

07102-20216

HOSE

18

201-62-64320

ELBOW

19

07002-01423

O-RING

20

07235-10315

ELBOW

21

07002-02034

O-RING

Выбрано товаров: 21