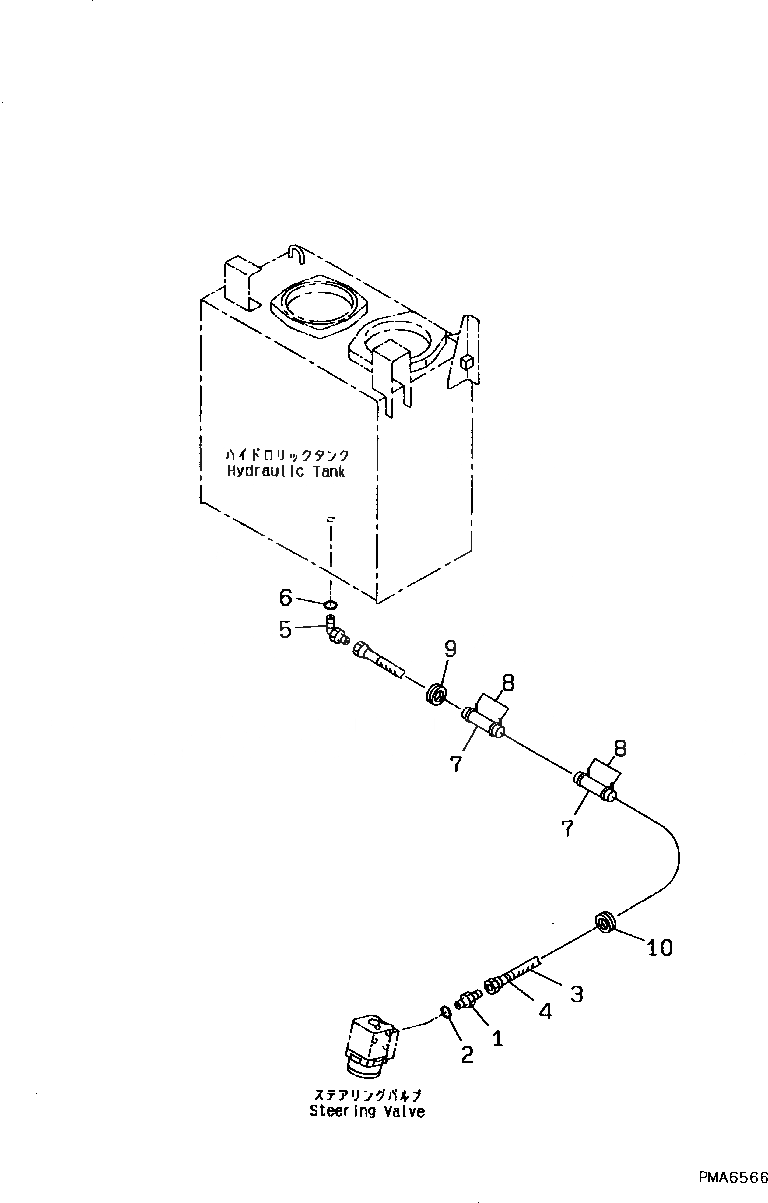
Запчасти Komatsu PW130-6K РУЛЕВ. УПРАВЛЕНИЕ ЛИНИЯ (КЛАПАН - БАК) ГИДРАВЛИКА

Схема запчастей Komatsu PW130-6K - РУЛЕВ. УПРАВЛЕНИЕ ЛИНИЯ (КЛАПАН - БАК) ГИДРАВЛИКА
FIT
1:1
100%

Артикул

Название

Примечание

Количество

1

20G-62-K3320

ADAPTOR

2

20G-62-K3440

O-RING

3

20E-62-K2130

HOSE

4

203-62-58210

MARK¤ T1

5

20G-62-K3310

ELBOW

6

20G-62-K3440

O-RING

7

203-62-41150

COVER

8

08034-00823

BAND

9

08037-03620

GROMMET

10

150-95-27160

GROMMET

Выбрано товаров: 10