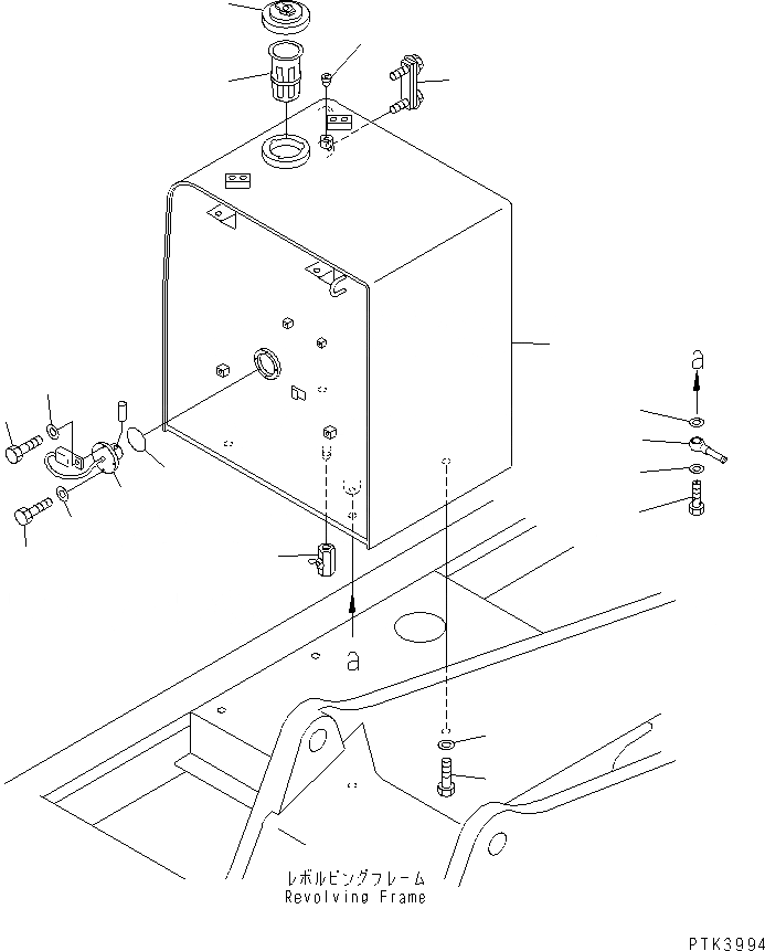
Запчасти Komatsu PW130ES-6K ТОПЛИВН. БАК.(№K-K888) ТОПЛИВН. БАК. AND КОМПОНЕНТЫ

Схема запчастей Komatsu PW130ES-6K - ТОПЛИВН. БАК.(№K-K888) ТОПЛИВН. БАК. AND КОМПОНЕНТЫ
1
2
3
4
5
6
7
8
9
10
10
11
11
12
13
14
14
15
FIT
1:1
100%

Артикул

Название

Примечание

Количество

|1

20E-04-K1251

FUEL TANK ASS'Y

1

TANK

2

205-04-71140

STRAINER

3

20Y-04-11160

CAP

4

20Y-04-21220

GAUGE

|4

21S-04-11151

GAUGE

5

01010-81635

BOLT

6

01643-31645

WASHER

7

20Y-04-11130

VALVE

8

7861-92-5810

SENSOR

9

07000-03050

O-RING

10

01010-80612

BOLT

11

01643-30623

WASHER

12

07043-70211

PLUG

13

21P-04-K1110

TUBE

14

07005-01212

GASKET

15

07006-30812

STOPPER

Выбрано товаров: 17