Запчасти Komatsu PW130ES-6K КОЗЫРЕК(№K-K999) КАБИНА ОПЕРАТОРА И СИСТЕМА УПРАВЛЕНИЯ

Схема запчастей Komatsu PW130ES-6K - КОЗЫРЕК(№K-K999) КАБИНА ОПЕРАТОРА И СИСТЕМА УПРАВЛЕНИЯ
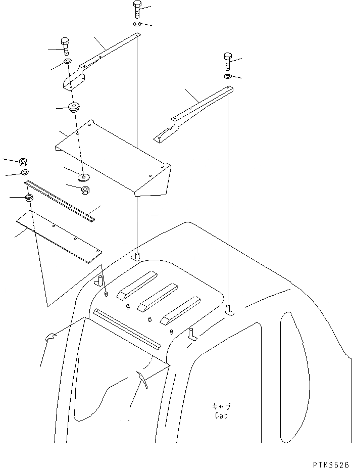
1
2
3
4
5
6
7
8
9
9
10
10
11
12
13
14
15
16
16
FIT
1:1
100%

Артикул

Название

Примечание

Количество

1

20E-54-K2352

VISOR

2

20E-54-K2332

BRACKET,L.H.

|2

20E-54-K2331

BRACKET,L.H.

3

20E-54-K2342

BRACKET,R.H.

|3

20E-54-K2341

BRACKET,R.H.

4

20G-54-K1361

CUSHION

5

01010-80840

BOLT

6

01643-30823

WASHER

7

20G-54-K1380

PLATE

8

01580-10806

NUT

9

01010-81025

BOLT

10

01643-31032

WASHER

11

20E-54-K2461

SHEET

12

20E-54-K2590

CLAMP

13

20E-54-K2481

SPACER

14

01643-30623

WASHER

15

01580-10605

NUT

16

20G-54-K2160

PLATE

Выбрано товаров: 0