Запчасти Komatsu PW130ES-6K ДВОЙН. БАК (ТОПЛИВН. И ГИДРАВЛ МАСЛ.) (ИТАЛИЯ СПЕЦ-Я.)(№K-K) ТОПЛИВН. БАК. AND КОМПОНЕНТЫ

Схема запчастей Komatsu PW130ES-6K - ДВОЙН. БАК (ТОПЛИВН. И ГИДРАВЛ МАСЛ.) (ИТАЛИЯ СПЕЦ-Я.)(№K-K) ТОПЛИВН. БАК. AND КОМПОНЕНТЫ
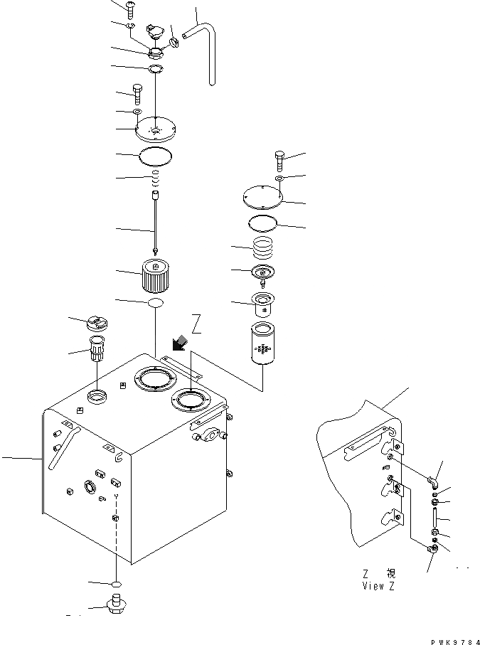
1
1
2
3
4
5
6
7
8
9
10
11
12
13
14
15
16
17
18
19
20
21
22
23
24
25
26
27
28
28
29
29
30
30
FIT
1:1
100%

Артикул

Название

Примечание

Количество

|1

20E-04-K1703

TANK ASS'Y

|1

20E-04-K1702

TANK ASS'Y

1

TANK

|1

TANK

2

205-04-71140

STRAINER

3

203-60-52260

STRAINER

4

203-60-52250

VALVE ASS'Y

5

175-60-27340

SPRING

6

07000-05155

O-RING

7

20E-60-K4620

PLATE

8

01010-81225

BOLT

9

01643-31232

WASHER

10

203-60-56250

STRAINER

11

203-60-56270

O-RING

12

20Y-60-K1270

ROD

13

12R-60-11230

SPRING

14

07000-05180

O-RING

15

20E-60-K4631

PLATE

|15

20E-60-K4630

PLATE

16

01010-81230

BOLT

|16

01010-81235

BOLT

17

01643-31232

WASHER

18

205-60-51460

GASKET

19

20Y-60-21460

NECK

20

01220-40512

SCREW

|20

01220-40516

SCREW

21

01601-20513

WASHER,SPRING

22

07270-61512

TUBE

23

07285-00155

CLIP

24

07040-12412

PLUG

25

07002-12434

O-RING

26

20E-04-K1440

CAP,FUEL TANK

|26

20Y-04-11240

PACKING

27

203-60-31160

TUBE

|28

203-60-31100

ELBOW ASS'Y

28

ELBOW

29

203-60-31240

NUT

30

203-60-31250

SLEEVE

Выбрано товаров: 38