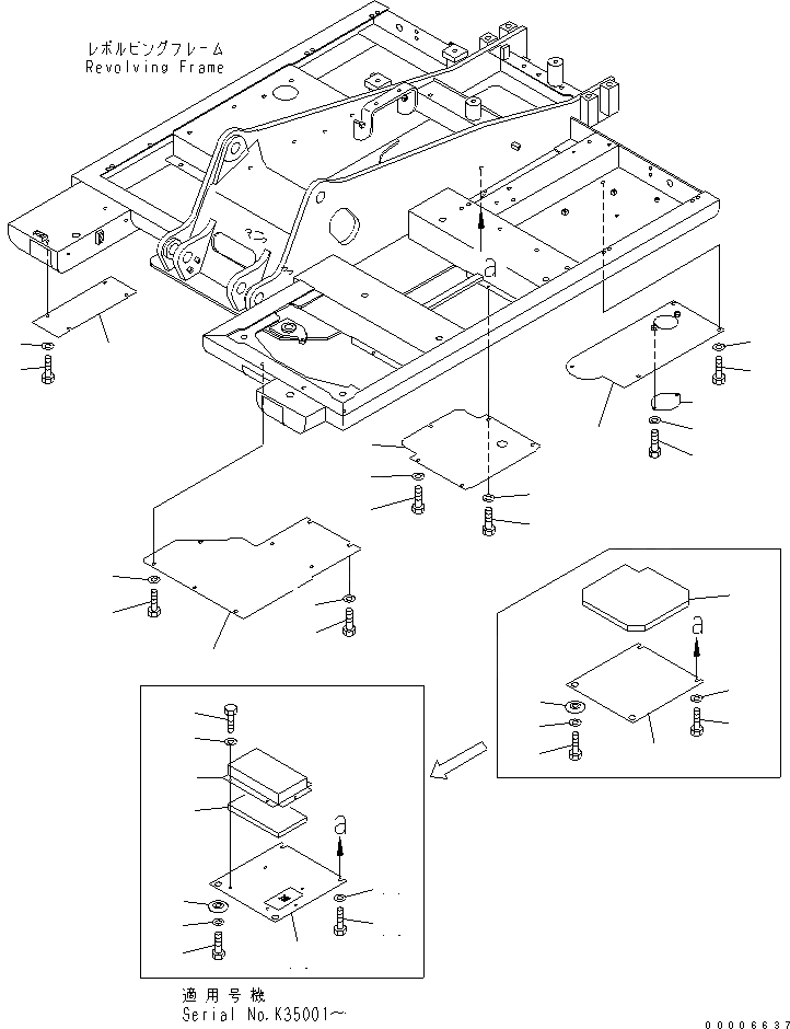
Запчасти Komatsu PW130ES-6K НИЖН. КРЫШКА(№K-) ЧАСТИ КОРПУСА

Схема запчастей Komatsu PW130ES-6K - НИЖН. КРЫШКА(№K-) ЧАСТИ КОРПУСА
1
2
2
3
4
5
6
6
7
8
9
10
11
12
13
14
15
15
15A
15B
15C
16
16
17
17
18
18
18
18
19
19
20
20
21
22
23
FIT
1:1
100%

Артикул

Название

Примечание

Количество

1

20E-54-K7050

COVER

2

01010-81230

BOLT

3

01643-31232

WASHER

4

124-54-26540

WASHER

5

20E-54-K7060

COVER

6

01010-81230

BOLT

7

01643-31232

WASHER

8

124-54-26540

WASHER

9

20E-54-K7044

COVER

|9

20E-54-K7043

COVER

|9

20E-54-K7042

COVER

10

20Y-54-K8840

COVER

11

01010-81230

BOLT

12

01643-31232

WASHER

13

01010-81230

BOLT

|13

01010-81230

BOLT

14

01643-31232

WASHER

|14

01643-31232

WASHER

|15

20E-54-K8011

COVER ASS'Y

|15

20E-54-K7031

COVER ASS'Y

15

20E-54-K8030

COVER

|15

20E-54-K7021

COVER

15A

20E-54-K8020

COVER

15B

01010-81016

BOLT

15C

01643-31023

WASHER

16

20E-54-K8041

SHEET

|16

20E-54-K7071

SHEET

17

124-54-26540

WASHER

18

01010-81230

BOLT

19

20E-54-K1490

COLLAR

20

01643-31232

WASHER

21

20E-54-K1161

COVER

22

01010-81025

BOLT

23

01643-31032

WASHER

Выбрано товаров: 34