Запчасти Komatsu PW150-1 ГИДР. НАСОС.¤ ЗАДН. (/) УПРАВЛ-Е РАБОЧИМ ОБОРУДОВАНИЕМ

Схема запчастей Komatsu PW150-1 - ГИДР. НАСОС.¤ ЗАДН. (/) УПРАВЛ-Е РАБОЧИМ ОБОРУДОВАНИЕМ
FIT
1:1
100%

Артикул

Название

Примечание

Количество

|$0

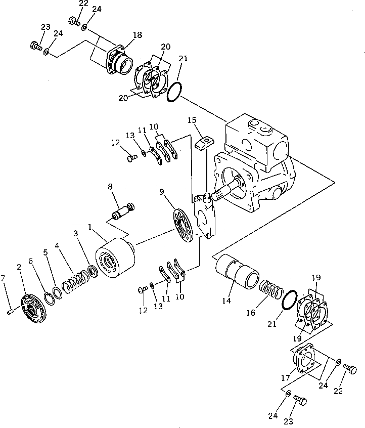
708-23-01021

PUMP ASS'Y,(HPV55+55)

|$2

708-23-01020

PUMP ASS'Y,(HPV55+55)

|$4

708-23-10201

PUMP ASS'Y,(HPV55+55)

|$6

708-23-10200

PUMP ASS'Y,(HPV55+55)

|$8

708-23-11202

PUMP SUB ASS'Y

|$10

708-23-11201

PUMP SUB ASS'Y

|$12

708-23-11200

PUMP SUB ASS'Y

|$14

708-23-00621

CYLINDER BLOCK ASS'Y,REAR

|$15

708-23-00620

CYLINDER BLOCK ASS'Y,REAR

|$16

708-23-00020

BLOCK ASS'Y,REAR

1

708-23-13151

CYLINDER BLOCK

1

708-23-13150

CYLINDER BLOCK

2

708-23-13621

PLATE,VALVE

2

708-23-13620

PLATE,VALVE

2

708-23-13220

PLATE,VALVE

3

708-23-13130

WASHER

4

708-23-13140

SPRING

5

708-23-13120

WASHER

6

04065-03815

RING,SNAP

7

720-68-19610

PIN

8

708-23-13312

PISTON ASS'Y

8

708-23-13311

PISTON ASS'Y

8

4708-23-13310

PISTON ASS'Y

9

708-23-13342

RETAINER,SHOE

9

4708-23-13341

RETAINER,SHOE

10

708-23-05042

SPACER KIT

10

708-23-05040

SPACER KIT

10

SPACER

10

SPACER

10

SPACER

10

SPACER

10

SPACER

10

SPACER

11

708-23-13431

RETAINER,BEARING

12

708-23-13460

SCREW

13

01643-30623

WASHER

14

708-23-14111

PISTON

14

708-23-14110

PISTON

15

708-23-14120

SLIDER

16

708-23-14130

SPRING

17

708-23-14140

CAP

18

708-23-14150

CAP

19

708-23-05050

SHIM KIT

19

SHIM

19

SHIM

19

SHIM

19

708-23-14210

SHIM

20

708-23-05060

SHIM KIT

20

SHIM

20

SHIM

20

SHIM

20

708-23-14210

SHIM

21

07000-02055

O-RING

22

01016-50840

BOLT

22

01010-50830

BOLT

23

01010-30823

BOLT

24

01643-30823

WASHER

Выбрано товаров: 57