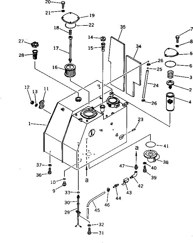
Запчасти Komatsu PW150-1 ТОПЛИВН. И ГИДР. БАК. (ШУМОПОДАВЛ. ДЛЯ EC)(№8-) УПРАВЛ-Е РАБОЧИМ ОБОРУДОВАНИЕМ

Схема запчастей Komatsu PW150-1 - ТОПЛИВН. И ГИДР. БАК. (ШУМОПОДАВЛ. ДЛЯ EC)(№8-) УПРАВЛ-Е РАБОЧИМ ОБОРУДОВАНИЕМ
FIT
1:1
100%

Артикул

Название

Примечание

Количество

|$0

20G-60-00012

TANK ASS'Y

1

20G-60-11113

TANK

2

175-60-27300

VALVE ASS'Y

3

175-60-27340

SPRING

4

07063-01100

ELEMENT

5

203-60-31172

COVER

6

07000-05155

O-RING

7

01010-51025

BOLT

8

01643-31032

WASHER

9

07044-13620

PLUG

10

07002-03634

O-RING

11

203-60-21200

GAUGE

12

01580-11008

NUT

13

01643-31032

WASHER

14

07051-01000

CAP

15

07056-10045

STRAINER

16

21K-60-11190

STRAINER

17

20G-60-12150

SUPPORT

18

12R-60-11230

SPRING

19

21K-60-11180

COVER

20

01010-51025

BOLT

21

01643-31032

WASHER

22

07000-05180

O-RING

23

704-28-02750

STRAINER

24

203-04-31121

TUBE

25

201-04-21160

BALL,FLOAT

26

07285-00155

CLIP

26

07281-00197

CLAMP

27

07050-41200

CAP

27

07050-21202

GASKET

28

07056-18416

STRAINER

|$31

20G-60-11100

TUBE ASS'Y

29

20G-60-11130

TUBE

30

281-06-13942

SWITCH

31

01010-50820

BOLT

32

01643-30823

WASHER

33

07000-23030

O-RING

34

20G-54-14750

SHEET

35

20G-54-14760

SHEET

36

01010-51435

BOLT

37

01643-31445

WASHER

38

20G-60-11122

TUBE

39

01010-51030

BOLT

40

01643-31032

WASHER

41

07000-05180

O-RING

42

07323-30200

ELBOW

43

07700-40240

VALVE

44

20B-04-21110

NIPPLE

45

07270-01035

TUBE

46

07280-01620

CLAMP

47

07325-10200

NIPPLE

Выбрано товаров: 51