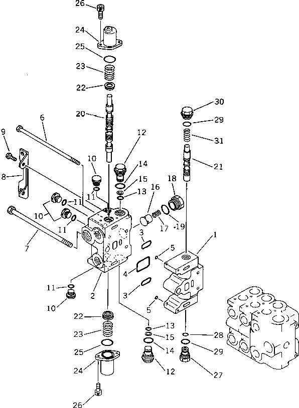
Запчасти Komatsu PW150-1 УПРАВЛЯЮЩ. КЛАПАН¤ ПРАВ. (РУКОЯТЬ EXCAVATION¤ THROTTLING КЛАПАН) (/) УПРАВЛ-Е РАБОЧИМ ОБОРУДОВАНИЕМ

Схема запчастей Komatsu PW150-1 - УПРАВЛЯЮЩ. КЛАПАН¤ ПРАВ. (РУКОЯТЬ EXCAVATION¤ THROTTLING КЛАПАН) (/) УПРАВЛ-Е РАБОЧИМ ОБОРУДОВАНИЕМ
FIT
1:1
100%

Артикул

Название

Примечание

Количество

|$0

700-85-23003

CONTROL VALVE ASS'Y,R.H.

|$2

700-85-23002

CONTROL VALVE ASS'Y,R.H.

|$4

700-85-23001

CONTROL VALVE ASS'Y,R.H.

1

BLOCK

1

BLOCK

2

COVER

2

COVER

3

07000-03038

O-RING

3

07000-03030

O-RING

4

07000-13050

O-RING

5

07000-01007

O-RING

6

700-85-11111

BOLT

7

700-84-13210

BOLT

8

700-84-11330

BRACKET

9

01010-51020

BOLT

10

709-30-62150

PLUG

11

07002-02034

O-RING

12

700-84-13960

PLUG

13

700-22-11410

O-RING

14

07002-03034

O-RING

15

700-80-64220

RING,BACK-UP

16

700-42-31460

VALVE

17

700-42-31470

SPRING

18

700-84-11320

PLUG

19

07002-13034

O-RING

20

SPOOL

20

SPOOL

21

SPOOL

22

700-84-13781

RETAINER

23

700-84-13770

SPRING

24

700-84-12510

CASE

25

700-84-11240

O-RING

26

01252-30616

BOLT

27

700-84-13510

NIPPLE

28

07000-02015

O-RING

29

07002-02434

O-RING

30

700-84-13870

PLUG

31

700-84-13570

SPRING

Выбрано товаров: 0