Запчасти Komatsu PW150-1 УПРАВЛЯЮЩ. КЛАПАН¤ ПРАВ. (РАЗГРУЗ. КЛАПАН) (/) УПРАВЛ-Е РАБОЧИМ ОБОРУДОВАНИЕМ

Схема запчастей Komatsu PW150-1 - УПРАВЛЯЮЩ. КЛАПАН¤ ПРАВ. (РАЗГРУЗ. КЛАПАН) (/) УПРАВЛ-Е РАБОЧИМ ОБОРУДОВАНИЕМ
FIT
1:1
100%

Артикул

Название

Примечание

Количество

|$0

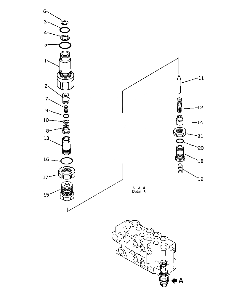
700-85-23003

CONTROL VALVE ASS'Y,R.H.

|$2

700-85-23002

CONTROL VALVE ASS'Y,R.H.

|$4

700-85-23001

CONTROL VALVE ASS'Y,R.H.

|$6

700-85-57001

VALVE ASS'Y,R.H.

1

SLEEVE

2

VALVE

3

700-13-31161

O-RING

4

700-80-51190

RING,BACK-UP

5

07002-03334

O-RING

6

700-80-51350

RING,SNAP

7

700-80-51390

SPRING

8

SEAT

9

O-RING

10

RING,BACK-UP

11

700-80-61190

POPPET

12

709-20-51231

SPRING

13

SLEEVE

14

700-80-51760

RETAINER

15

700-80-51440

HOLDER

16

07002-03034

O-RING

17

01530-03010

NUT

18

PLUG

19

PISTON

20

07000-02014

O-RING

21

07239-12009

NUT

Выбрано товаров: 25