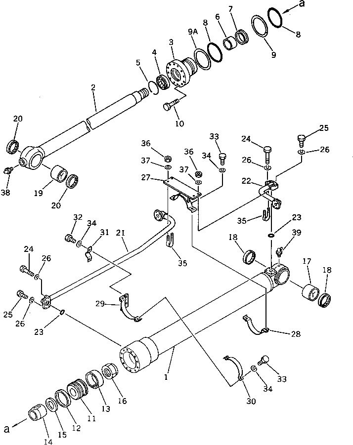
Запчасти Komatsu PW150-1 ЦИЛИНДР КОВША УПРАВЛ-Е РАБОЧИМ ОБОРУДОВАНИЕМ

Схема запчастей Komatsu PW150-1 - ЦИЛИНДР КОВША УПРАВЛ-Е РАБОЧИМ ОБОРУДОВАНИЕМ
FIT
1:1
100%

Артикул

Название

Примечание

Количество

|$0

20G-63-72100

CYLINDER ASS'Y

1

20G-63-72141

CYLINDER

2

20G-63-72121

ROD,PISTON

3

707-28-11271

HEAD,CYLINDER

3

707-28-11270

HEAD,CYLINDER

4

07016-20708

SEAL,DUST (K5)

4

144-63-95170

SEAL,DUST (K5)

5

07179-00093

RING,SNAP

6

07177-07030

BUSHING

7

707-51-70211

PACKING,ROD (K5)

8

07000-12105

O-RING (K5)

9

07146-02106

RING,BACK-UP (K5)

9A

707-35-91111

RING,BACK-UP (K5)

9A

707-35-91110

RING,BACK-UP (K5)

10

01010-51655

BOLT

11

707-36-11361

PISTON

11

707-36-11360

PISTON

12

707-44-11180

RING,PISTON (K5)

12

707-44-11080

RING,PISTON (K5)

13

07155-01125

RING,WEAR (K5)

14

707-71-50731

PLUNGER

14

707-71-50871

PLUNGER

15

707-40-11370

SPACER

16

07165-15252

NUT

17

707-76-70040

BUSHING

18

07145-00070

SEAL,DUST (K5)

19

707-76-70060

BUSHING

20

21K-70-12180

SEAL,DUST (K5)

21

20G-63-72170

TUBE

22

20G-63-72180

TUBE

23

07000-13030

O-RING (K5)

24

01010-50855

BOLT

25

01010-50845

BOLT

26

01602-20825

WASHER

27

707-88-99180

BRACKET

28

707-88-99120

BAND

29

707-88-99160

BAND

30

707-88-99110

BAND

31

07282-02793

CLAMP

32

01010-51020

BOLT

33

01010-51035

BOLT

33

01010-51030

BOLT

34

01602-21030

WASHER

35

07283-22738

CLIP

36

01599-01011

NUT

37

01643-31032

WASHER

38

07020-00000

FITTING,GREASE

39

07020-00900

FITTING,GREASE

Выбрано товаров: 48