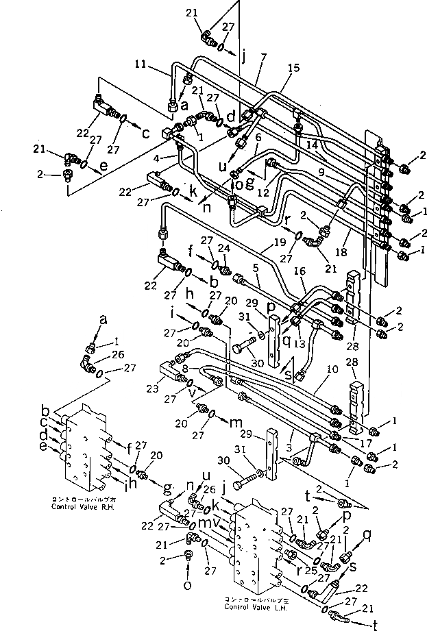
Запчасти Komatsu PW150-1 ГИДРОЛИНИЯ (/8) (СОЕДИН-Е - КЛАПАН) УПРАВЛ-Е РАБОЧИМ ОБОРУДОВАНИЕМ

Схема запчастей Komatsu PW150-1 - ГИДРОЛИНИЯ (/8) (СОЕДИН-Е - КЛАПАН) УПРАВЛ-Е РАБОЧИМ ОБОРУДОВАНИЕМ
FIT
1:1
100%

Артикул

Название

Примечание

Количество

1

20G-62-15760

NIPPLE

2

20G-62-15770

NIPPLE

3

20G-62-15132

TUBE

4

20G-62-15251

TUBE

5

20G-62-15191

TUBE

5

20G-62-15190

TUBE

6

20G-62-15211

TUBE

6

20G-62-15210

TUBE

7

20G-62-15120

TUBE

8

20G-62-15160

TUBE

9

20G-62-15171

TUBE

10

20G-62-15221

TUBE

11

20G-62-15110

TUBE

12

20G-62-15180

TUBE

13

20G-62-15332

TUBE

14

20G-62-15141

TUBE

15

20G-62-15542

TUBE

16

20G-62-15332

TUBE

17

20G-62-15240

TUBE

18

20G-62-15231

TUBE

19

20G-62-15150

TUBE

20

07230-20210

UNION

21

07235-10210

ELBOW

22

208-62-18190

ELBOW

23

21K-62-12570

ELBOW

24

20G-62-15591

UNION

25

20G-62-15550

NIPPLE

26

20G-62-15581

ELBOW

27

07002-01423

O-RING

28

20G-62-15281

CLAMP

29

20G-62-15291

CLAMP

30

01010-51060

BOLT

31

01602-21030

WASHER,SPRING

Выбрано товаров: 33