Запчасти Komatsu PW150-1 ОТВАЛ РАБОЧЕЕ ОБОРУДОВАНИЕ

Схема запчастей Komatsu PW150-1 - ОТВАЛ РАБОЧЕЕ ОБОРУДОВАНИЕ
FIT
1:1
100%

Артикул

Название

Примечание

Количество

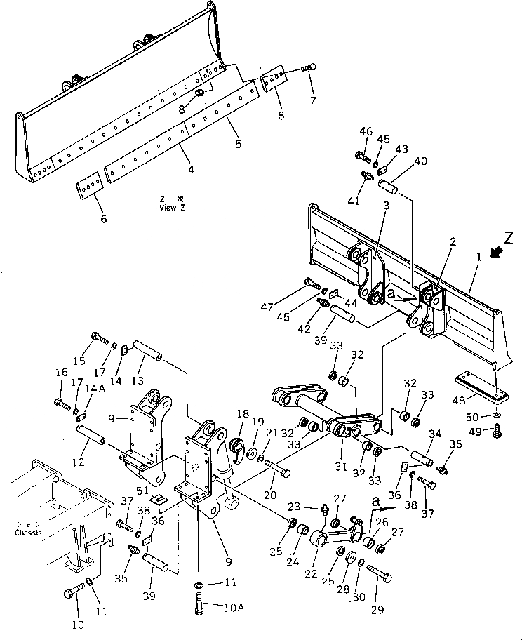
1

20G-910-1111

BLADE

2

20G-910-1291

BRACKET,L.H.

3

20G-910-1281

BRACKET,R.H.

4

20G-910-1331

EDGE,CUTTING

5

20G-910-1410

EDGE,CUTTING

6

101-817-1120

BIT,END

7

02090-10845

BOLT

8

02290-10813

NUT

9

20G-910-1151

BRACKET

10

01010-52065

BOLT

10A

01010-52050

BOLT

11

01643-31232

WASHER

12

20G-910-1160

PIN

13

20G-910-1390

PIN

14

04082-00312

LOCK

14A

04082-00212

LOCK

15

01010-51230

BOLT

16

01010-51225

BOLT

17

01602-21236

WASHER,SPRING

18

20G-910-1170

HOOK

19

20G-910-1380

HOLDER

20

01010-51680

BOLT

21

01643-31645

WASHER

22

20G-910-1130

LINK

23

07020-00000

FITTING,GREASE

24

07144-10606

BUSHING

25

07145-00060

SEAL,DUST

26

07143-10606

BUSHING

27

07145-00060

SEAL,DUST

28

20G-910-1180

HOLDER

29

01010-51680

BOLT

30

01643-31645

WASHER

31

20G-910-1121

LINK

32

07143-10603

BUSHING

33

07145-00060

SEAL,DUST

34

20G-910-1231

PIN

35

07020-00000

FITTING,GREASE

36

201-70-21210

PLATE

37

01010-51235

BOLT

38

01602-21236

WASHER,SPRING

39

20G-910-1211

PIN

40

20G-910-1190

PIN

41

07020-00000

FITTING,GREASE

42

07020-00675

FITTING,GREASE

43

04082-00212

LOCK

44

201-70-21210

PLATE

45

01602-21236

WASHER,SPRING

46

01010-51225

BOLT

47

01010-51235

BOLT

48

20G-910-1341

PLATE

49

01010-51635

BOLT

50

01643-31645

WASHER

51

20G-910-1420

SPACER

52

20G-00-11460

PLATE,OPERATING, BLADE (NOT SHOWN)

Выбрано товаров: 0