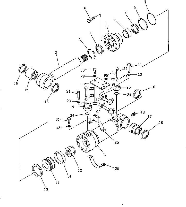
Запчасти Komatsu PW150-1 ЦИЛИНДР ОТВАЛА (ДЛЯ TURKEY)(№-) РАБОЧЕЕ ОБОРУДОВАНИЕ

Схема запчастей Komatsu PW150-1 - ЦИЛИНДР ОТВАЛА (ДЛЯ TURKEY)(№-) РАБОЧЕЕ ОБОРУДОВАНИЕ
FIT
1:1
100%

Артикул

Название

Примечание

Количество

|$0

20G-63-92100

CYLINDER ASS'Y,L.H.

|$1

20G-63-92200

CYLINDER ASS'Y,R.H.

|$2

20G-63-92110

CYLINDER ASS'Y

1

20G-63-92140

CYLINDER

2

20G-63-92120

ROD

3

707-27-11271

HEAD,CYLINDER

4

144-63-95170

SEAL,DUST

5

07179-00093

RING,SNAP

6

07177-07030

BUSHING

7

707-51-70211

PACKING,ROD

8

07000-12105

O-RING

9

707-35-91111

RING,BACK-UP

10

01010-51655

BOLT

11

707-36-11360

PISTON

12

07165-15252

NUT

13

707-44-11180

RING,PISTON

14

07155-01125

RING,WEAR

15

707-76-70130

BUSHING

16

07145-00070

SEAL,DUST

17

707-76-70040

BUSHING

18

02020-00900

FITTING

19

20G-63-92170

TUBE,L.H.

19

20G-63-92270

TUBE,R.H.

20

20G-63-92180

TUBE,L.H.

20

20G-63-92280

TUBE,R.H.

21

01010-50845

BOLT

22

01010-50855

BOLT

23

01602-20825

WASHER,SPRING

24

07000-13030

O-RING

25

707-88-99910

BAND

26

707-88-99120

BAND

27

07283-22236

CLIP

28

01599-01011

NUT

29

01643-31032

WASHER

30

01010-51025

BOLT

31

01010-51035

BOLT

32

01602-21030

WASHER,SPRING

33

707-88-10790

PLATE

Выбрано товаров: 38