Запчасти Komatsu PW150-1 ЭЛЕКТРИКА (/) (TBG¤ ABE СПЕЦ-Я.) СПЕЦ. APPLICATION ЧАСТИ¤ МАРКИРОВКА¤ ИНСТРУМЕНТ И РЕМКОМПЛЕКТЫ

Схема запчастей Komatsu PW150-1 - ЭЛЕКТРИКА (/) (TBG¤ ABE СПЕЦ-Я.) СПЕЦ. APPLICATION ЧАСТИ¤ МАРКИРОВКА¤ ИНСТРУМЕНТ И РЕМКОМПЛЕКТЫ
FIT
1:1
100%

Артикул

Название

Примечание

Количество

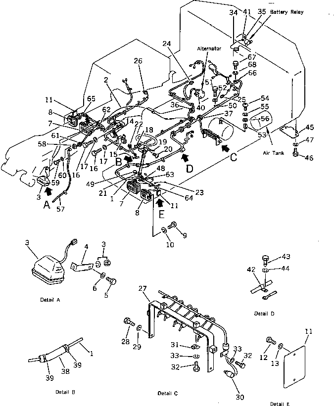
1

20G-06-14223

WIRING

2

20G-06-14252

WIRE

3

22W-06-12381

LAMP ASS'Y,WORK

4

20G-06-13320

BRACKET

5

01010-51630

BOLT

6

01643-31645

WASHER

7

20G-06-13430

LAMP,HEAD

8

20G-06-19210

LAMP ASS'Y

9

01220-40410

SCREW

10

01601-20410

WASHER,SPRING

11

20G-06-19470

PLATE

12

01220-40412

SCREW

13

01641-20405

WASHER

14

363-06-14611

HORN

14

363-06-14610

HORN

15

20G-06-19691

HORN

15

20G-06-19690

HORN

16

01010-50816

BOLT

17

01641-20812

WASHER

18

20G-06-12350

SWITCH ASS'Y,F-R

19

20G-06-19940

SWITCH,TURN SIGNAL

20

01220-40425

SCREW

21

362-43-15360

BAND

22

203-06-42141

SWITCH,HORN

22

203-06-42140

SWITCH,HORN

22

205-06-71360

SWITCH,HORN

23

20G-06-14320

WIRE

24

08073-00505

SWITCH

25

08620-00000

SENSOR

26

08073-00503

SWITCH

27

20G-06-15141

PLATE

28

01010-51025

BOLT

29

01602-21030

WASHER,SPRING

30

203-06-41661

SWITCH,SWING BRAKE PRESSURE

30

203-06-41660

SWITCH,SWING BRAKE PRESSURE

31

08036-01814

CLIP

32

01010-51016

BOLT

33

01602-21030

WASHER,SPRING

34

08028-12065

CABLE

35

08038-04030

CAP

36

08037-03620

GROMMET

37

08037-05022

GROMMET

38

203-04-31230

COVER

39

08034-00519

BAND

40

08038-00518

CAP

41

08038-00518

CAP

42

21T-62-25740

CLIP

43

01010-51016

BOLT

44

01602-21030

WASHER,SPRING

45

20G-06-13270

COVER,REAR LAMP

46

01010-50610

BOLT

47

01602-20619

WASHER,SPRING

48

08034-00310

BAND

49

09415-02520

CAP

50

08036-21814

CLIP

51

01010-51016

BOLT

52

01602-21030

WASHER

53

283-06-17130

CLIP

54

01220-40616

SCREW

55

01602-20619

WASHER,SPRING

56

01641-20608

WASHER

57

20G-06-19970

CABLE

58

20G-06-13480

CONNECTOR ASS'Y

59

01220-30435

SCREW

60

01641-20405

WASHER

61

08037-02512

GROMMET

62

20G-06-19240

WIRE ASS'Y

63

20G-06-19220

WIRE ASS'Y

64

20G-06-19280

WIRE ASS'Y

65

20G-06-19290

WIRE ASS'Y

66

08036-30814

CLIP

67

01010-51016

BOLT

68

01602-21030

WASHER,SPRING

Выбрано товаров: 73