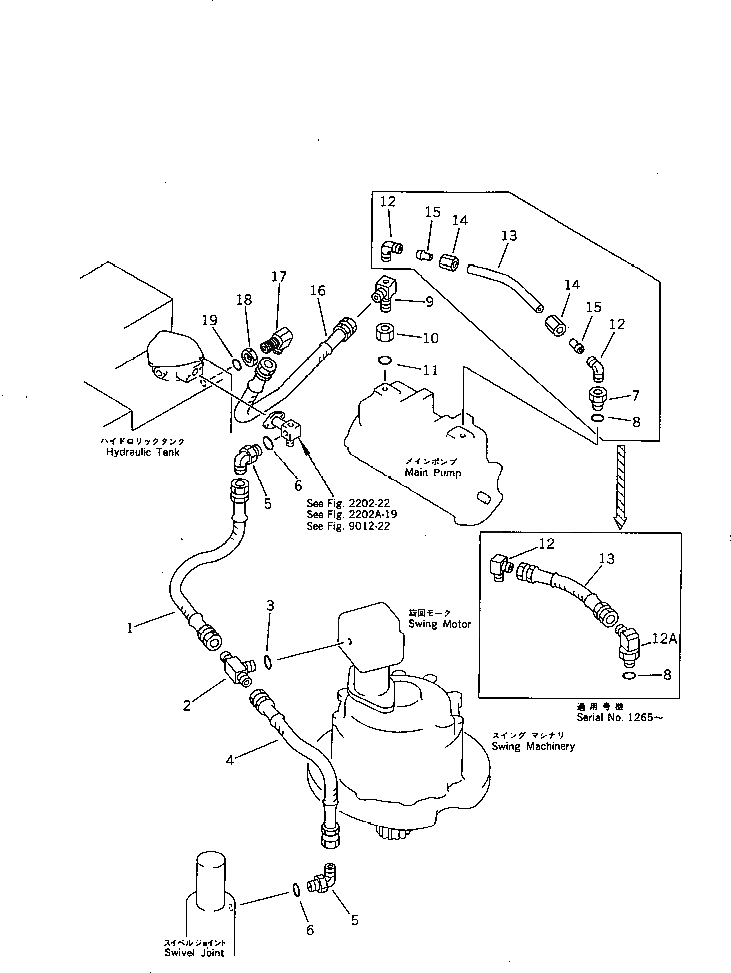
Запчасти Komatsu PW150-1 ГИДРОЛИНИЯ (/) (НАСОС - ФИЛЬТР. - ПОВОРОТНОЕ СОЕДИНЕНИЕ) (TBG¤ ABE СПЕЦ-Я.) СПЕЦ. APPLICATION ЧАСТИ¤ МАРКИРОВКА¤ ИНСТРУМЕНТ И РЕМКОМПЛЕКТЫ

Схема запчастей Komatsu PW150-1 - ГИДРОЛИНИЯ (/) (НАСОС - ФИЛЬТР. - ПОВОРОТНОЕ СОЕДИНЕНИЕ)     (TBG¤ ABE СПЕЦ-Я.) СПЕЦ. APPLICATION ЧАСТИ¤ МАРКИРОВКА¤ ИНСТРУМЕНТ И РЕМКОМПЛЕКТЫ
FIT
1:1
100%

Артикул

Название

Примечание

Количество

1

07102-20308

HOSE

2

20G-62-11971

TEE

3

07002-02034

O-RING

4

07102-20305

HOSE

5

07235-10315

ELBOW

6

07002-02034

O-RING

7

203-62-42590

BUSHING

8

07002-02434

O-RING

9

203-62-42640

ELBOW

10

01583-12414

NUT

11

07002-02434

O-RING

12

20R-03-12130

ELBOW

12

07834-00817

ELBOW

12A

20S-62-11310

ELBOW

13

07102-20404

HOSE

13

07822-00835

TUBE

14

07832-00817

NUT

15

07831-00813

SLEEVE

16

07102-20605

HOSE

17

07232-30628

ELBOW

18

07239-22410

NUT

19

07002-02434

O-RING

Выбрано товаров: 22