Запчасти Komatsu PW150-1 MACHINERY ОБСТАНОВКА (/) (TBG¤ ABE СПЕЦ-Я.) СПЕЦ. APPLICATION ЧАСТИ¤ МАРКИРОВКА¤ ИНСТРУМЕНТ И РЕМКОМПЛЕКТЫ

Схема запчастей Komatsu PW150-1 - MACHINERY ОБСТАНОВКА (/) (TBG¤ ABE СПЕЦ-Я.) СПЕЦ. APPLICATION ЧАСТИ¤ МАРКИРОВКА¤ ИНСТРУМЕНТ И РЕМКОМПЛЕКТЫ
FIT
1:1
100%

Артикул

Название

Примечание

Количество

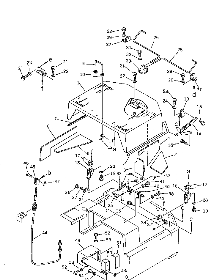
|$0

20G-54-00111

HOOD ASS'Y

|$1

20G-54-00110

HOOD ASS'Y

1

HOOD

1

HOOD

|$4

20G-54-11100

SHEET ASS'Y

2

20G-54-11710

SHEET

3

20G-54-11730

SHEET

4

20G-54-11740

SHEET

5

20G-54-11860

SHEET

6

20G-54-11870

SHEET

7

20G-54-11680

TRIM

8

20G-54-11690

TRIM

9

20G-54-11590

BAR

10

08037-01008

GROMMET

11

01643-31032

WASHER

12

04050-12020

PIN,COTTER

13

20G-54-11910

BRACKET

14

20R-54-21430

STAY

15

20R-54-21440

BOLT

16

20R-54-21450

BOLT

17

203-54-44940

PLATE

18

203-54-42350

BRACKET

19

01010-51025

BOLT

20

01643-31032

WASHER

21

01010-51020

BOLT

22

01643-31032

WASHER

23

01010-51025

BOLT

24

01643-31032

WASHER

25

203-54-42250

BAR,TORSION

26

203-54-42260

BAR,TORSION

27

203-54-42271

PLATE

27

203-54-42270

PLATE

28

01010-51020

BOLT

28

01010-51025

BOLT

29

01643-31032

WASHER

30

203-54-42281

PLATE

30

203-54-42280

PLATE

31

01010-51020

BOLT

31

01010-51025

BOLT

32

01643-31032

WASHER

33

20G-54-11771

LEVER

34

203-54-42320

LEVER

35

20T-54-26310

BOLT

36

01580-11210

NUT

37

01643-31232

WASHER

38

01010-51020

BOLT

39

01643-31032

WASHER

40

203-54-42340

SPRING

41

01010-51020

BOLT

42

01643-31032

WASHER

43

09467-00002

SPRING

44

20G-54-11790

CABLE

45

04210-20500

YOKE

46

04205-10514

PIN

47

04050-11210

PIN,COTTER

48

145-43-36550

SPRING

49

20G-54-19440

COVER

50

20G-54-19540

BRACKET,FRONT

51

20G-54-19550

BRACKET,REAR

52

01010-51225

BOLT

53

01643-31232

WASHER

54

01010-51455

BOLT

55

01643-31445

WASHER

Выбрано товаров: 63