Запчасти Komatsu PW150-1 ВЕРХН. ВОЗДУХОВОД (/8) (PURGE КАМЕРА¤ ВОЗД. ВЛАГООТДЕЛИТЕЛЬ)(TBG¤ ABE СПЕЦ-Я.) СПЕЦ. APPLICATION ЧАСТИ¤ МАРКИРОВКА¤ ИНСТРУМЕНТ И РЕМКОМПЛЕКТЫ

Схема запчастей Komatsu PW150-1 - ВЕРХН. ВОЗДУХОВОД (/8) (PURGE КАМЕРА¤ ВОЗД. ВЛАГООТДЕЛИТЕЛЬ)        (TBG¤ ABE СПЕЦ-Я.) СПЕЦ. APPLICATION ЧАСТИ¤ МАРКИРОВКА¤ ИНСТРУМЕНТ И РЕМКОМПЛЕКТЫ
FIT
1:1
100%

Артикул

Название

Примечание

Количество

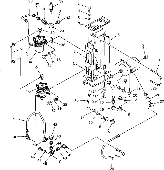
1

20G-68-19830

AIR RESERVOIR ASS'Y,WET

2

07325-10400

NIPPLE

3

177-44-12190

CLIP

4

01599-01011

NUT

5

01643-31032

WASHER

6

20G-68-19320

BRACKET

7

20G-68-19370

BRACKET

8

01010-51025

BOLT

9

01643-31032

WASHER

10

01602-21030

WASHER,SPRING

11

07323-30200

ELBOW

12

07213-51013

CONNECTOR

13

20G-68-19410

TUBE

14

20D-68-11670

ELBOW

15

07700-40240

VALVE

16

20B-04-21110

NIPPLE

17

07280-01620

CLAMP

18

07270-01050

TUBE

19

20G-68-11670

SOCKET

20

01010-50825

BOLT

21

01602-20825

WASHER,SPRING

22

01010-51240

BOLT

23

01602-21236

WASHER,SPRING

24

01643-31232

WASHER

25

07325-10300

NIPPLE

26

07324-50300

COUPLING

27

20D-68-11780

ELBOW

28

20G-68-12230

HOSE

29

20G-68-19840

BLOCK

30

07815-00209

VALVE ASS'Y,SAFETY

31

281-34-11510

VALVE ASS'Y,CHECK

32

07213-51521

CONNECTOR

33

20G-68-19420

TUBE

34

20G-68-19790

CHAMBER ASS'Y

35

20G-68-19780

AIR DRYER ASS'Y

36

20G-68-19850

PLATE

37

01010-51025

BOLT

38

01643-31032

WASHER

39

01602-21032

WASHER,SPRING

40

20D-68-41970

ELBOW

40

281-35-13290

ELBOW

41

20G-68-13130

HOSE

42

07324-10200

TEE

43

07325-10200

NIPPLE

44

205-68-51190

ADAPTER

45

6131-81-3210

REGULATOR

46

01010-50830

BOLT

47

01602-20825

WASHER,SPRING

48

205-68-51190

ADAPTER

49

20D-68-41970

ELBOW

49

281-35-13290

ELBOW

50

21T-38-12280

ELBOW

51

20G-68-19710

TUBE

Выбрано товаров: 53