Запчасти Komatsu PW150-1 ВЕРХН. ВОЗДУХОВОД (/8) (ЗАЩИТА¤ ТОРМОЗНОЙ КЛАПАН) (TBG¤ ABE СПЕЦ-Я.) СПЕЦ. APPLICATION ЧАСТИ¤ МАРКИРОВКА¤ ИНСТРУМЕНТ И РЕМКОМПЛЕКТЫ

Схема запчастей Komatsu PW150-1 - ВЕРХН. ВОЗДУХОВОД (/8) (ЗАЩИТА¤ ТОРМОЗНОЙ КЛАПАН) (TBG¤ ABE СПЕЦ-Я.) СПЕЦ. APPLICATION ЧАСТИ¤ МАРКИРОВКА¤ ИНСТРУМЕНТ И РЕМКОМПЛЕКТЫ
FIT
1:1
100%

Артикул

Название

Примечание

Количество

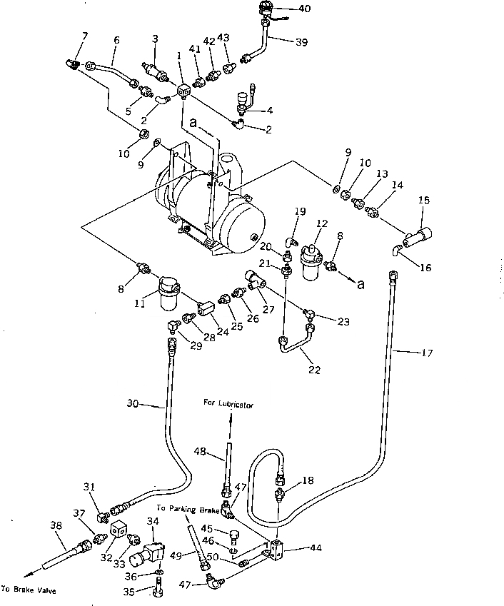
1

20G-68-13190

TEE

2

07323-30200

ELBOW

3

07815-00209

VALVE ASS'Y,SAFETY

4

22W-44-11661

SWITCH,LOW PRESSURE

5

07213-51013

CONNECTOR

6

20G-68-19391

TUBE

7

20D-68-12940

ELBOW

8

07830-10424

NIPPLE

9

01643-32460

WASHER

10

01582-12419

NUT

11

07811-20400

FILTER

12

07814-20400

LUBRICATOR

13

07326-10302

ADAPTER

14

07325-10200

NIPPLE

15

22W-44-11610

VALVE ASS'Y,PROTECTION

16

07323-30200

ELBOW

17

20G-68-19540

HOSE

18

566-35-14340

NIPPLE

19

07323-30400

ELBOW

20

07326-10402

ADAPTER

21

07213-51013

CONNECTOR

22

20G-68-19750

TUBE

23

234-975-4810

ELBOW

24

20G-68-19730

TEE

25

07326-10402

ADAPTER

26

07325-10200

NIPPLE

27

22W-44-11610

VALVE ASS'Y,PROTECTION

28

07326-10403

ADAPTER

29

144-865-6260

ELBOW

30

20G-68-19580

HOSE

31

176-62-15480

ELBOW

32

20G-68-19530

TEE

33

07325-00200

NIPPLE

34

22W-44-11610

VALVE ASS'Y,PROTECTION

35

01010-50650

BOLT

36

01602-20619

WASHER,SPRING

37

566-35-14340

NIPPLE

38

20G-68-19440

HOSE

39

20G-68-19641

TUBE

40

20G-68-19310

GAUGE,AIR PRESSURE

41

07326-10201

ADAPTER

42

07214-50510

CONNECTOR

43

07202-50508

NUT

44

20G-68-19610

BLOCK

45

01010-51025

BOLT

46

01602-21030

WASHER,SPRING

47

20D-68-41970

ELBOW

47

281-35-13290

ELBOW

48

20G-68-12350

HOSE

49

20G-68-12170

HOSE

50

07042-10211

PLUG

Выбрано товаров: 51